Diodes Incorporated AP61100/AP61102同步降压转换器
Diodes Incorporated AP61100/AP61102同步降压转换器是一款符合汽车标准的转换器,具有2.3V至5.5V宽输入电压范围。 该转换器集成了一个110mΩ 高侧功率MOSFET和一个80mΩ 低侧功率MOSFET,可提供高效降压直流-直流转换。 Diodes Incorporated AP61100/AP61102转换器采用恒定导通时间(COT)控制,可实现快速瞬态响应、轻松环路稳定和低输出电压纹波。该转换器采用SOT563封装。典型应用包括5V汽车分布式电源总线电源、汽车信息娱乐、汽车仪表板、汽车远程信息处理和高级辅助驾驶系统。特性
- 集成了110 mΩ高侧功率MOSFET和80 mΩ低侧功率MOSFET
- 下列性能符合AEC-Q100标准:
- 器件温度等级1:-40°C至125°C TA
- 器件的HBM ESD分类等级为H3A
- 器件充电器件模型 (CDM) 静电放电分类等级C5
- 提供高效降压直流-直流转换
- 采用恒定导通时间 (COT) 控制,以实现
- 快速瞬态响应
- 轻松环路稳定
- 低输出电压纹波
- 通过EN可编程工作模式
- 脉冲频率调制(PFM)
- 不受输出影响的脉冲宽度调制 (PWM)
- 电源良好指示灯
- AP61102Q
- 保护电路
- 欠压闭锁 (UVLO)
- VIN 过压保护(OVP)
- 峰值电流限制
- 谷值电流限制
- 热关断
规范
- 宽输入电压范围:2.3V至5.5V
- 低静态电流 (PFM):15µA
- 连续输出电流:1A
- 输出电压范围:0.6V至3.6V
- 参考电压:0.6V±2%
- 开关频率:2.2MHz(VIN=5V和VOUT=1.8V时)
- 5 mA轻负载时效率高达89%
应用
- 5V汽车分布式电源总线供电
- 汽车信息娱乐
- 汽车仪表盘
- 汽车远程信息处理
- 高级辅助驾驶系统
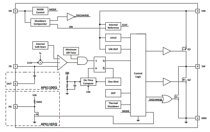
功能框图
发布日期: 2020-06-09
| 更新日期: 2024-07-31
