特性
- 输入电压范围:2.3V至5.5V ( VIN)
- 输出电压范围:0.6V至3.6V ( VOUT)
- 2 A 的可持续输出电流
- 参考电压:0.6V ±2%
- 低静态电流:19µA
- 开关频率:1.3MHz
- 效率:高达89%(5A轻负载时)
- AP61202和AP61203电源良好指示器
- 工作模式选项:
- AP61200和AP6120脉冲频率调制
- AP61201和AP61203强制脉冲宽度调制
- 保护电路:
- 欠压闭锁 (UVLO)
- VIN 过电压保护 (OVP)
- 峰值电流限制
- 谷值电流限制
- 热关断
应用
- 5V分布式电源总线供电
- 小家电
- 白色家电
- FPGA、DSP和ASIC电源
- 网络摄像机
- 无线路由器
- 消费电子产品
- 通用负载点
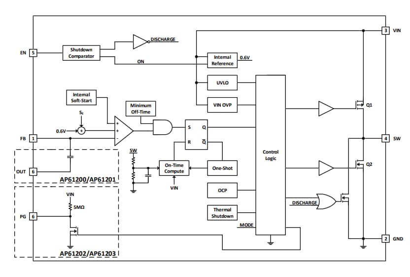
框图
效率与输出电流图
应用电路
发布日期: 2022-04-13
| 更新日期: 2024-02-13

