该系列提供固定和可调输出电压。该转换器还采用专有的栅极驱动器方案来减轻开关节点振铃,而不会牺牲MOSFET的开启和关闭时间,从而减少由MOSFET开关引起的高频辐射EMI噪声。
AP61406Q具有I2C兼容的2线串行接口,包括双向串行数据线、SDA和串行时钟线、SCL。该设备支持最高达3.4MHz的SCL时钟速率。
AP61406Q的设计针对小尺寸进行了优化。该设备采用W-QFN1520-8/SWP(UX型)封装。
AP61406Q适用于需要特定变更控制的汽车应用;它符合AEC-Q100标准,具备PPAP能力,并在通过IATF 16949认证的工厂制造。
特性
- 下列性能符合AEC-Q100标准:
- 器件温度等级1级:-40°C至+125°C TA
- 器件HBM ESD分类等级H1C
- 设备CDM ESD分类等级C3B
- 可提供功能安全文档来辅助功能安全系统的设计
- 20µA超低静态电流(脉冲频率调制)
- I2C接口最高支持3.4MHz的时钟频率
- 可编程模式 - PFM/PWM
- 可编程频率 - 1MHz、1.5MHz、2MHz、2.5MHz
- 可编程IOUT - 1A/2A/3A/4A
- 可调增量VOUT:20mV
- 可润湿法兰
- VIN:2.3V至5.5V
- 宽输出电压范围:0.300 V至3.600 V
- 0.5V ±2%参考电压(默认设置)
- 电源良好指示灯
- 保护电路
- 欠压闭锁 (UVLO)
- VIN过电压保护(OVP)
- 峰值和谷值电流限制
- 热关断
- 完全无铅,完全符合RoHS标准
- 无卤素和无锑的“绿色”设备
- 通过AEC-Q100认证,具备PPAP能力,并在通过IATF 16949认证的设施中制造(AP61406Q)
应用
- 汽车电源系统
- 汽车信息娱乐
- 汽车仪器组
- 汽车远程信息处理
- 高级驾驶辅助系统
规范
- 降压型
- HS RDS(ON):75mΩ
- LS RDS(ON):33mΩ
- 5.5V最大输入电压
- 2.3V最小输入电压
- 20µA静态电流类型
- 0.02µA关断电流类型
- 直流输出电流为 4 A
典型应用原理图
效率与输出电流
引脚分配
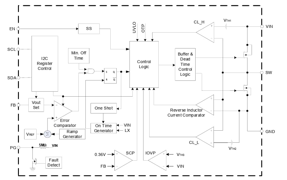
功能框图
发布日期: 2026-01-26
| 更新日期: 2026-02-12

