Diodes Inc. APR34910可在低系统输出电压下由内部PLR(脉冲线性稳压器)充电,并提供3.3V至24V宽输出工作电压范围。APR34910采用SO-8(CJ2型)封装。
特性
- 支持反激式同步整流,具有CCM/DCM/QR工作模式
- 智能控制,可最大限度地减少导通和关断延迟
- 智能消隐控制,防止击穿
- 支持高侧和低侧应用。
- 内置PLR电源,可实现低系统输出电压
- 内部UVLO保护
- 外部元件数量较少
- 无铅,符合RoHS指令
- 无卤素和不含锑的“绿色”器件
应用
- 智能快速充电器
- 笔记本电脑适配器
- 机顶盒 (STB) 电源
- 其他紧凑型开关交流-直流适配器/充电器
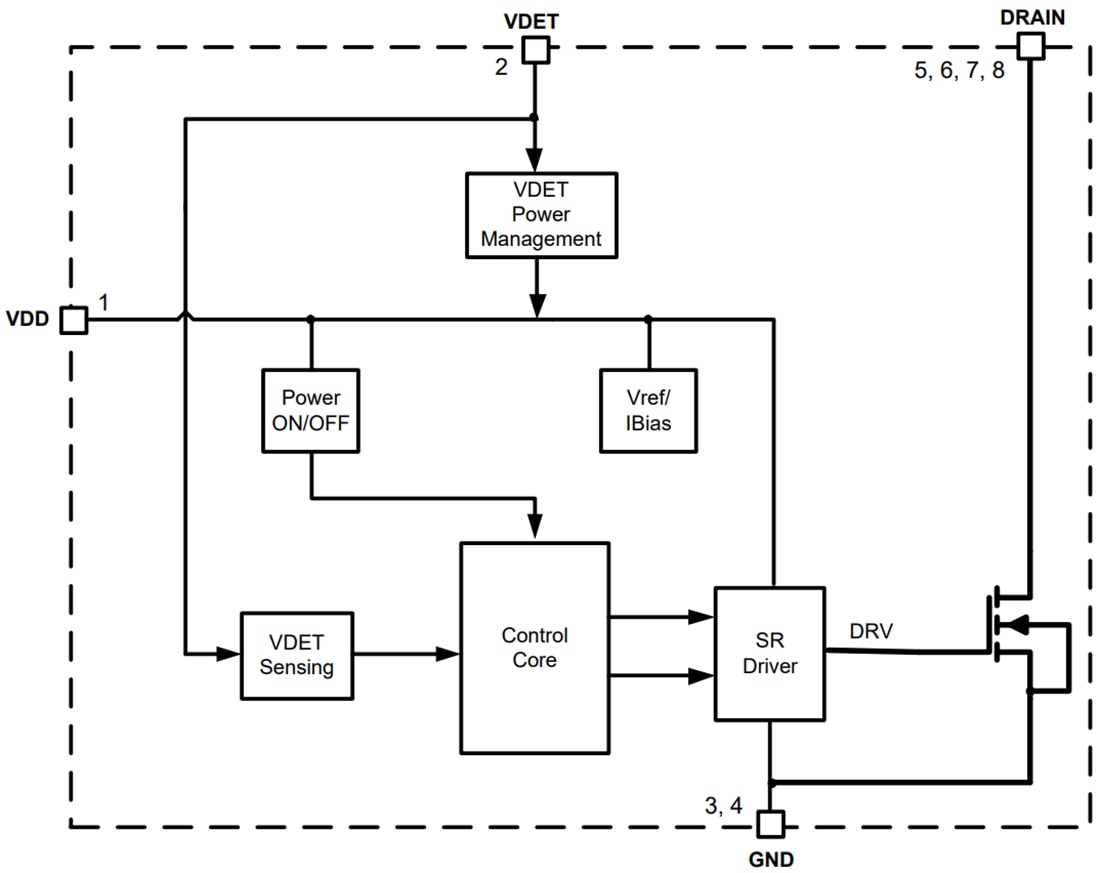
功能框图
发布日期: 2022-02-16
| 更新日期: 2022-04-29

