特性
- 1转2有源信号双通道器,用于4通道HDMI 2.0操作
- 数据速率高达6Gbps,支持4K2K像素分辨率
- 四级均衡器增益值选择,由引脚搭接或I2C模式编程控制
- 通过引脚搭接或I2C模式编程控制四级平坦增益和输出摆幅线性选择
- I/O引脚上2KV HBM ESD保护
- 3.3V单电源
- 温度范围:-40°C至+70°C
- 完全无铅,完全符合RoHS指令
- 无卤、无锑的“绿色”器件
- 40引脚TQFN、3mm x 6mm(0.4mm脚距) (ZLD) 封装(无铅和绿色)
应用
- 显示器外设盒
- 数字标牌显示器
- 多屏幕接头
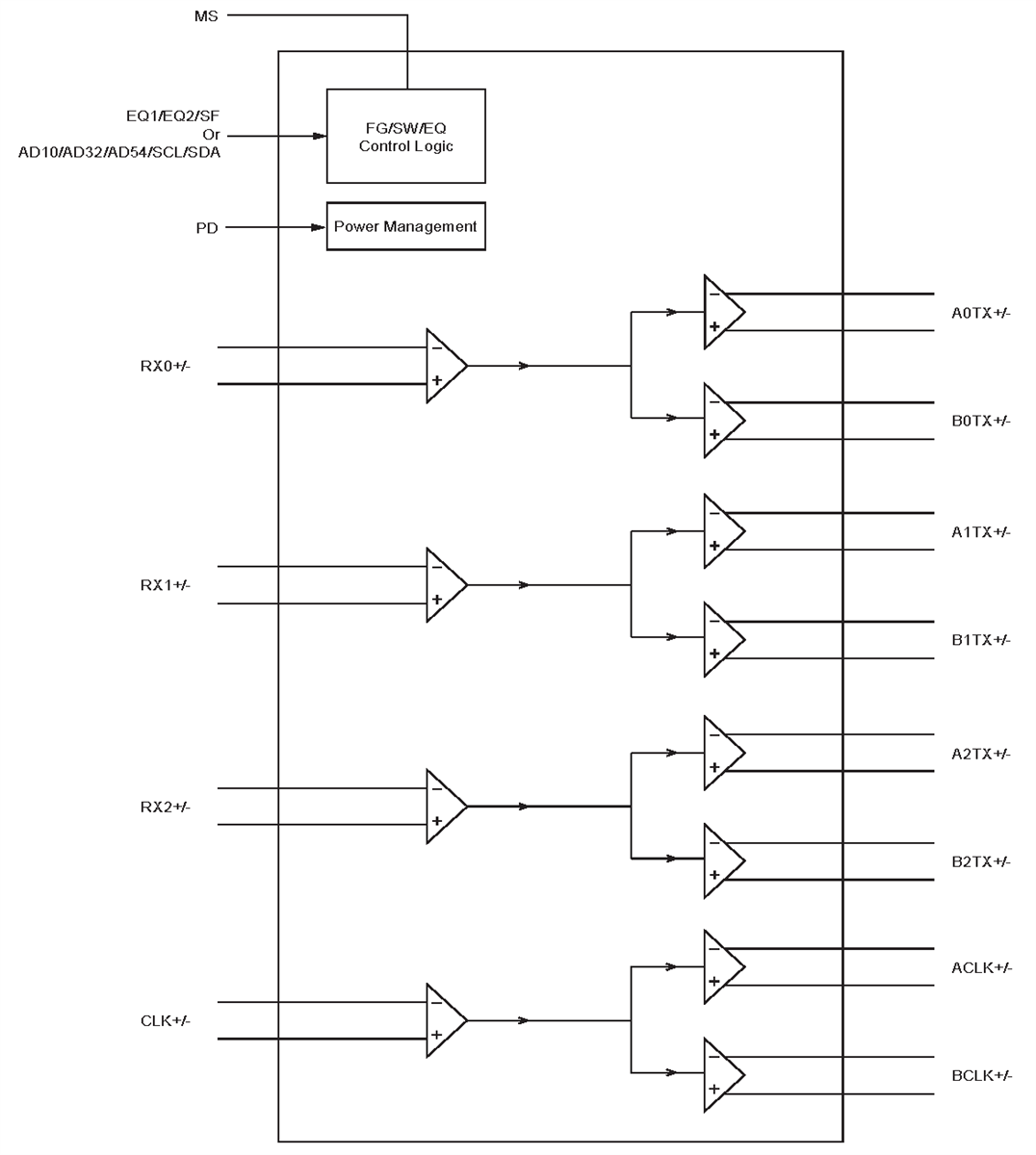
框图
发布日期: 2023-10-02
| 更新日期: 2023-12-07

