Microchip Technology 24CSM01 1Mb串行EEPROM

Microchip Technology 24CSM01 1-Mbit串行EEPROM的速度高达3.4MHz,工作电压范围为1.7V至5.5V。这些串行EEPROM支持多达八个器件共享一个共用I2C(两线)总线。24CSM01 EEPROM构成为131.072字节,每字节8位(12千字节),优化用于消费和工业应用。这些EEPROM具有4Kbit安全寄存器,前半部分为只读。安全寄存器在前16字节中包含工厂编程、确保唯一的128位序列号。

24CSM01 EEPROM包含一个支持写保护行为的配置寄存器和一个只读纠错状态锁存(ECS)。这些串行EEPROM采用内置纠错码(ECC)方案,可在4字节读取中纠正多达一个错误读取位。24CSM01 EEPROM支持I2C制造商识别(ID)命令,可返回24CSM01的唯一值,从而在应用中轻松识别。这些串行器件采用PDIP-8、SOIC-8、SOIJ-8、UDFN-8、TSSOP-8、MSOP-8和WLCSP-8封装。

特性

  • 1-Mbit电子擦除可编程只读存储器:
    • 内部构造为一个131.072 x 8位
    • 字节或页面写入高达256个字节
    • 字节或顺序读取
    • 自定时写入周期:5 ms(最大值)
  • 高速I2C接口:
    • 高速模式支持3.4MHz
    • 行业标准1MHz、400kHz和100kHz
    • 输出斜率控制,消除接地弹跳
    • 用于噪声抑制的施密特触发器输入
  • 安全寄存器
    • 可编程128位序列号
    • 用户可编程和可锁定256字节ID页面
  • 内置纠错码(ECC)逻辑:
    • 通过配置寄存器实现纠错状态(ECS)闩锁
  • 支持I2C制造商识别功能
  • 多功能数据保护选项
    • 硬件写保护 (WP) 引脚,用于全阵列数据保护
    • 通过配置寄存器增强软件写保护
  • 工作电压范围:1.7 V至5.5 V
  • 低功耗CMOS技术:
    • 写入电流:3mA(最大值,5.5V时)
    • 读取电流:1mA(最大值,5.5V、1MHz时)
    • 待机电流:1µA(5.5V时,I-temp)
  • 高可靠性:
    • 超过100万次擦除/写入循环
    • 内置ECC逻辑,提高可靠性
    • 数据保留:>200年
    • ESD保护:>4000V
  • 温度范围:
    • 工业 (I) :-40 °C至85 °C
    • 扩展温度 (E):-40 °C至125 °C
  • 符合汽车类AEC-Q100标准
  • 符合RoHS标准

使用串行EEPROM进行系统配置

Microchip Technology 24CSM01 1Mb串行EEPROM

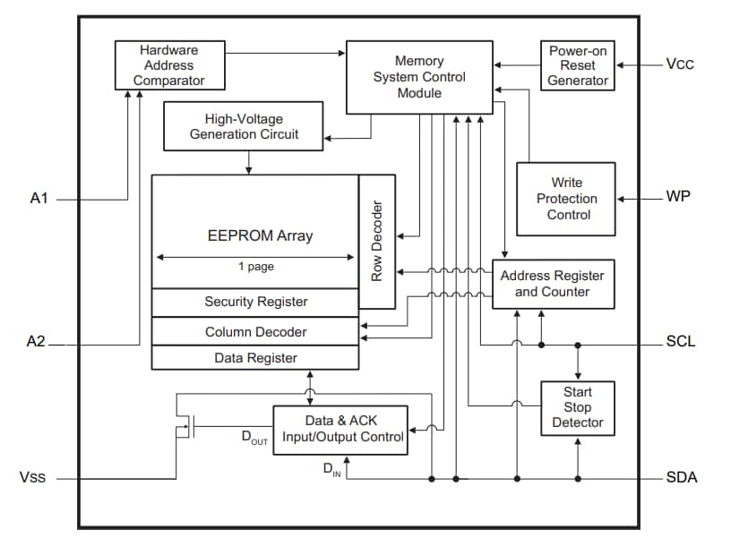
方框图

框图 - Microchip Technology 24CSM01 1Mb串行EEPROM
发布日期: 2024-01-30 | 更新日期: 2024-02-01