FTDI Chip FT232RN USB UART IC是一款用于某些应用领域的“三合一”芯片,与上一代产品相比,增加了两个新功能。内部生成的时钟(6MHz、12MHz、24MHz和48MHz)可与FT232RN分离,用于驱动微控制器或外部逻辑。
FT232RN采用无铅(符合RoHS指令)紧凑型28引脚SSOP (FT232RNL) 和32引脚QFN (FT232RNQ) 封装。
特性
- 单芯片USB转异步串行数据传输接口
- 在芯片上处理完整的USB协议,无需USB专用固件编程
- 完全集成的1024位EEPROM存储器件描述符和CBUS I/O配置
- 完全集成的USB端接电阻器
- 完全集成的时钟生成,无需外部晶振,加上可选的时钟输出选择,可实现与外部MCU或FPGA的无胶接口
- 在TTL电平下,数据传输速率为300baud至3Mbaud(RS422、RS485、RS232)
- 128字节接收缓冲器和256字节发射缓冲器采用缓冲器平滑技术,可实现高数据吞吐量
- 得益于FTDI的免版税虚拟Com端口 (VCP) 和直接 (D2XX) 驱动程序,在大多数情况下无需开发USB驱动程序
- 独特的USB FTDIChip-ID™特性
- 可配置CBUS I/O引脚
- 发送和接收LED驱动信号
- UART接口支持7或8个数据位、1或2个停止位及奇/偶/标记/空格/无校验
- 具有RD#和WR#选通的同步和异步Bit-Bang接口选项
- FIFO接收和发送缓冲器,可获得高数据吞吐量
- 器件预编程,具有独特的USB序列号
- 支持总线供电、自供电和大功率总线供电的USB配置
- 集成+3.3V电平转换器,用于USB I/O
- UART和CBUS上集成电平转换器,用于连接+1.8V至+5V逻辑
- 真正的5V/3.3V/2.8V/1.8V CMOS驱动输出和TTL输入
- 可配置I/O引脚输出驱动强度
- 集成上电复位电路
- 完全集成的AVCC电源滤波 - 无需外部滤波
- UART信号反转选项
- +3.3V至+5.25V单电源运行
- 较低的工作和USB暂停电流
- USB带宽消耗低
- 兼容UHCI/OHCI/EHCI主机控制器
- 兼容USB 2.0全速
- 扩展工作温度范围:-40°C至85°C
- 采用紧凑型无铅28引脚SSOP和QFN-32封装(均符合RoHS指令)
应用
- USB转RS232/RS422/RS485转换器
- 将传统外设升级为USB
- 蜂窝和无绳电话USB数据传输电缆和接口
- 将基于MCU/PLD/FPGA的设计连接至USB
- USB音频和低带宽视频数据传输
- PDA至USB数据传输
- USB智能读卡器
- USB仪表
- USB工业控制
- USB MP3播放器接口
- USB闪存读卡器和写入器
- 机顶盒PC–USB接口
- USB数码相机接口
- USB硬件调制解调器
- USB无线调制解调器
- USB条形码读取器
- USB软件和硬件加密狗
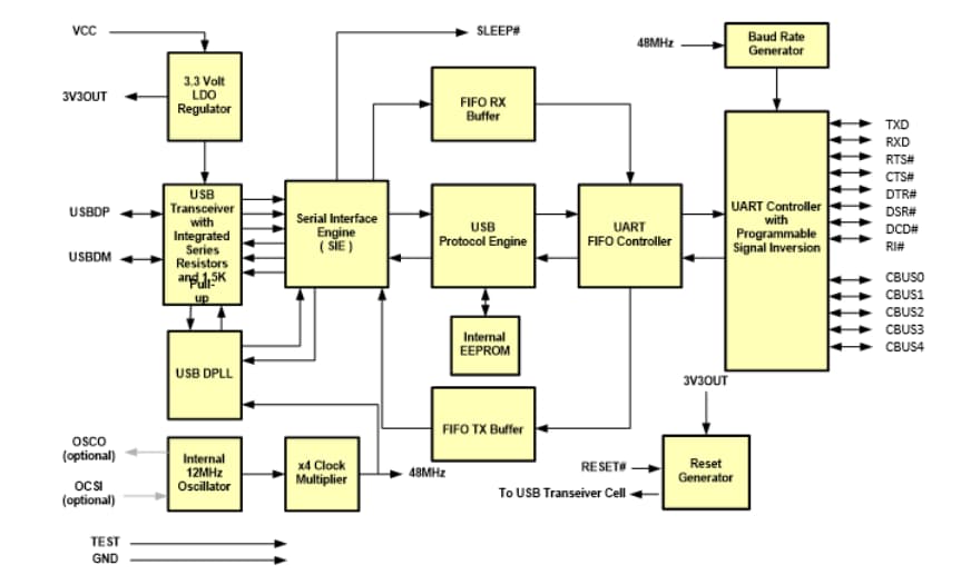
框图
发布日期: 2022-10-10
| 更新日期: 2022-10-20

