特性
- 接口
- HYPERBUS接口
- 1.8V/3.0V接口支持
- 单端时钟 (CK)-11个总线信号
- 可选差分时钟(CK、CK#) - 12个总线信号
- 芯片选择 (CS#)
- 8位数据总线 (DQ[7:0])
- 硬件复位 (RESET#)
- 双向读写数据选通 (RWDS)
- 在所有事务开始时输出以指示刷新延迟
- 在读取事务期间输出以作为读取数据选通
- 在写入事务期间输出以作为写入数据掩码
- 可选DDR中心对齐读取选通 (DCARS)
- 在读取事务中,RWDS由第二个时钟(从CK移相)抵消
- 相移时钟用于在读取数据眼内移动RWDS转换沿
- 性能、功率和封装
-
- 时钟速率:200MHz(最大值)
- DDR - 传输时钟两边的数据
- 数据吞吐量:高达400Mbps (3200Mbps)
- 可配置突发特性
- 线性突发
- 包装突发长度
- 16字节(8个时钟)
- 32字节(16个时钟)
- 64字节(32个时钟)
- 128字节(64个时钟)
- 混合选项 - 一个包装突发,后接64Mb线性突发。不支持跨裸片边界线性突发。
- 可配置输出驱动强度
- 电源模式
- 混合睡眠模式
- 深度省电
- 阵列刷新
- 部分内存阵列(1/8、1/4、1/2等)
- 全
- 封装
- 24焊球FBGA
-
- 工业级 (I):–40°C至+85°C
- 工业+级 (V):–40°C至+105°C
- 工作温度范围:AEC-Q100标准汽车3级,–40°C至+85°C
- 符合汽车AEC-Q100标准2级(-40°C至+105°C)
- 可配置突发特性
-
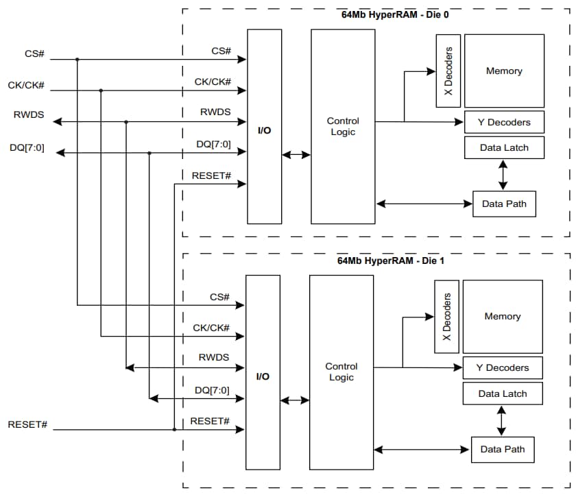
框图
发布日期: 2021-05-11
| 更新日期: 2023-09-04

