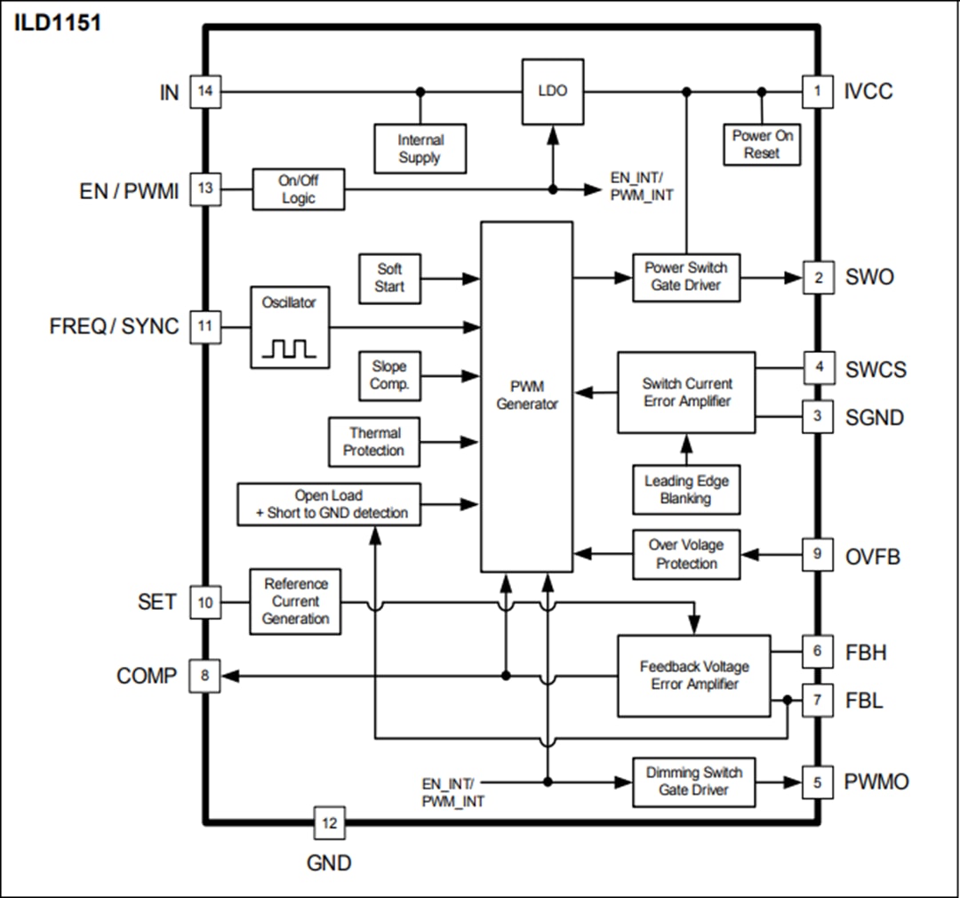
With the ILD4000 and ILD6000 families Infineon provides highly integrated smart LED buck controllers for high power LEDs. The ILD4000 series offers a breakdown voltage of 40V and basic thermal protection. The ILD6000 provides a breakdown voltage of 60V and advanced thermal protection. The ILD1151, a multi-topology high power DC-DC controller IC with built in protection features, offers a wide range of flexible dimming options.
特性
- 4.5V to 60V wide usable input voltage
- Compatible with a big variety of LEDs
- Provides both PWM or analog dimming options
- Up to 98% high-efficiency
- 3000:1 contrast ratio
- Advanced thermal protection
- Adjustable thermal protection trigger point
- Small PG-DSO-8 exposed pad package
- No need for external NTC or PTC
- No change in light color during thermal protection mode
应用
- LED driver for general lighting
- Retail, office, and residential downlights
- Street and tunnel lighting
- LED ballasts
视频
发布日期: 2014-10-07
| 更新日期: 2025-02-12

