Infineon Technologies IR2233/IR2235 MOSFET和IGBT驱动器

英飞凌科技  IR2233/IR2235 MOSFET和IGBT驱动蓝牙 三个独立的高侧和低侧参考输出通道,用于三相应用。专有的HVIC技术实现了坚固的单片结构。逻辑输入兼容CMOS或LSTTL输出,支持低至2.5V的逻辑电平。独立的运算放大器通过外部电流检测电阻器提供桥接电流模拟反馈。

特性

  • 用于自举操作的浮动通道
  • 在高达+1200V下仍正常工作
  • 完全可操作至+600V (IR2135) 选项
  • 可承受负瞬态电压
  • dV/dt抗噪
  • 栅极驱动电源范围为10V/12V至20V DC,瞬态电压高达25V
  • 所有通道均可欠压闭锁
  • 过电流关断关闭所有六个驱动器
  • 独立的3个半桥驱动器
  • 所有通道均有匹配的传播延迟
  • 兼容2.5V逻辑
  • 输出与输入异相

应用

  • 家用电器
  • 电机控制和驱动器
  • 机器人
  • 家居和楼宇自动化
  • 工业加热和焊接
  • 遥控直升机和无人机

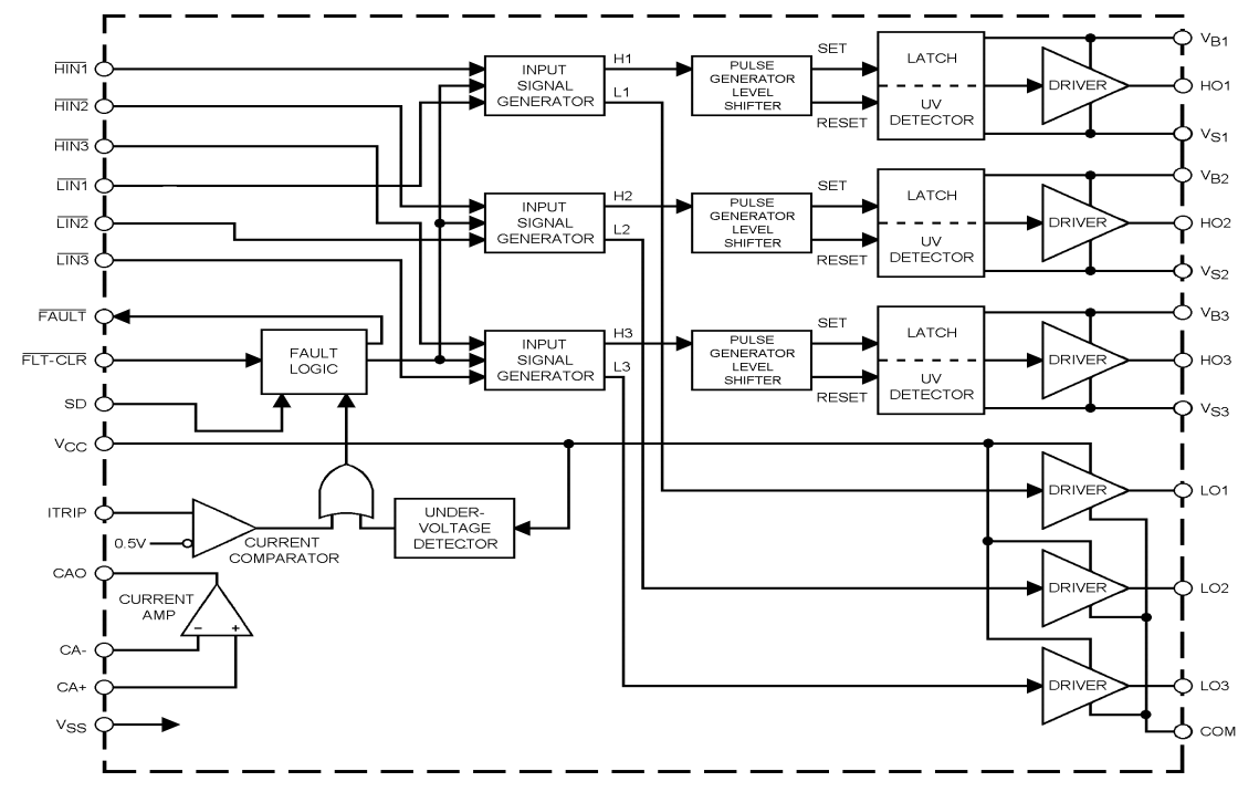
框图

框图 - Infineon Technologies IR2233/IR2235 MOSFET和IGBT驱动器
发布日期: 2020-02-03 | 更新日期: 2024-09-26