Infineon Technologies LITIX™内饰LED驱动器

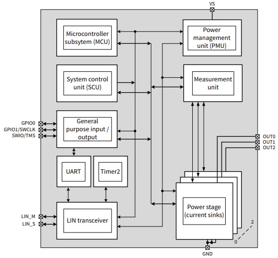
英飞凌LITIX™ 汽车环境照明内部LED驱动器是一款具有集成和受保护输出级的三通道器件。该驱动器设计用于控制其电流高达51.5mA、且作为线性电流灌电流(LCS)的LED。电源级可以并行配置,以实现更高的负载电流,而单个电源输出级则可通过5位电流设定值进行配置。LITIX™ LED驱动器使用LIN接口进行编程(通过引导加载程序)、控制和诊断反馈。该驱动器具有32kB片上闪存、3kB片上SRAM和576Bytes 1000 TP片上存储器。

特性

  • 3通道驱动器(每通道高达51.5mA)
  • LIN接口,带LIN自动寻址功能
  • 32位Arm® Cortex®-M23内核
  • 32kB片上闪存和3kB片上SRAM
  • 576Bytes 1000 TP片上存储器
  • 11位ADC,测量范围为0V至8V,采用差分测量
  • PWM引擎,16位,610Hz分辨率
  • 用于启动FW闪存程序的Boot ROM
  • 片上振荡器
  • 使用2线SWD进行调试
  • 2个额外的GPIO
  • 小型引线封装(TFDSO-16)
  • 易于对众所周知的MCU进行编程
  • 简单且稳定的软件开发
  • 最大限度的应用灵活性
  • 额外的感应和控制功能

方框图

框图 - Infineon Technologies LITIX™内饰LED驱动器

典型应用电路

应用电路图 - Infineon Technologies LITIX™内饰LED驱动器
发布日期: 2025-09-23 | 更新日期: 2025-10-13