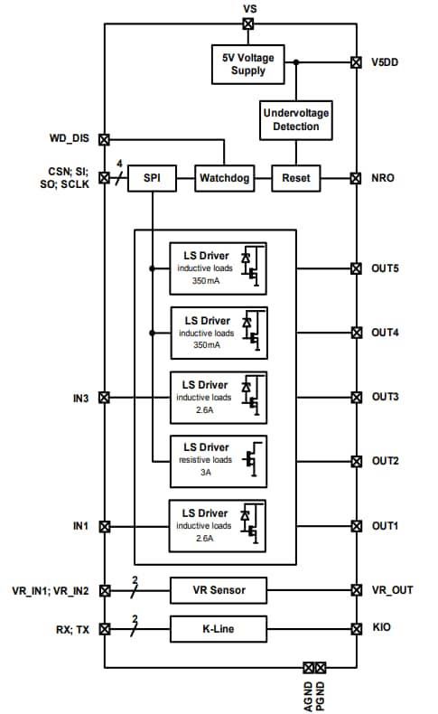
特性
- 电源:5V (+/-2%),250 mA
- K线收发器 (ISO 9141)
- 串行外设接口 (SPI)
- 4个用于电感负载的低侧驱动器,具有过热和过流保护,以及断开诊断时的开路负载/接地短路:
- 2个低侧开关,最大工作电流为2.6A
- 2个低侧开关,最大工作电流为350mA
- 1个用于电阻负载的低侧驱动器,最大工作电流为
- 3A,包括过热和过流保护
- 可配置的可变磁阻传感器接口
- 复位输出和5V欠压检测
- 看门狗
- 绿色产品(符合RoHS指令)
- 符合AEC标准
框图
发布日期: 2018-06-18
| 更新日期: 2022-08-08

