Infineon Technologies TLE8082ES配套IC

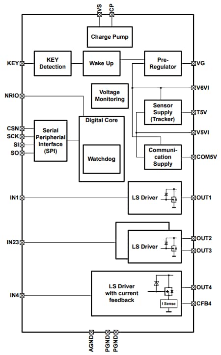
英飞凌科技 TLE8082ES配套IC支持符合OBDII标准的EURO5/BHARATVI 2/3轮内燃机系统。该IC支持专注于增强型电子燃油喷射 (EFI) 技术的系统。它具有过热和过流保护特性,并为每个集成功率级提供诊断功能。TLE8082ES集成了用于外部FET的前置稳压器、传感器电源、用于车载收发器的通信电源、SPI接口以及用于驱动发动机管理系统中使用的不同负载类型的四个功率级。

特性

  • 电源
    • 带外部FET的电压前置稳压器
    • 5V传感器电源(跟踪5V电源输入)
    • 5V通信电源(跟踪5V电源输入)
  • 永久电源特性
    • 专用密钥输入
    • 运行后功能
  • 窗口看门狗模块
  • 4个用于电感负载的低侧驱动器,具有过热和过流保护,以及断开诊断时的开路负载/接地短路:
    • 3个低侧功率级
    • 1个低侧功率级,具有电流测量功能(O2加热器)
  • 串行外设接口 (SPI)
  • 绿色产品(符合RoHS指令)

应用

  • 摩托车、2轮和3轮车以及踏板车
  • 船舶、海洋设备和摩托艇
  • 雪地车

框图

Infineon Technologies TLE8082ES配套IC
发布日期: 2021-09-09 | 更新日期: 2022-03-11