ISSI IS62WVS串行SRAM

ISSI IS62WVS串行SRAM

ISSI IS62WVS串行SRAM采用高性能CMOS技术制造,可提供4μA待机电流。这些SRAM是512K、1M或2M位串行静态RAM,结构分别为64K字节 x 8位、128K字节 x 8位和256K字节 x 8位。IS62WVS串行SRAM具有20MHz时钟速率,串行外设接口 (SPI) 兼容总线接口,并支持对内存阵列的无限读写。支持的额外接口是串行双接口 (SDI) 和串行四接口 (SQI),以满足更快数据速率要求。这些SRAM的工作温度范围是-40ºC至 85ºC ,可采用无铅8引脚SOIC封装。典型应用包括工业物联网、高级辅助驾驶系统和医疗行业。

特性
  • 高性能低功耗CMOS技术
  • SPI兼容总线
    • SPI(x1)、SDI(x2) 或 SQI(x4) I/O模式
  • RAM结构
    • 512Kb SRAM为64K字节 x 8位
    • 1Mb SRAM为128K字节 x 8位
    • 2Mb SRAM为512K字节 x 8位
  • 超低功耗:
    • 3.6V、20MHz时读取电流:8mA(最大值)
    • 待机电流:4µA(典型值)
  • 读取模式:
    • 字节读取模式
    • 页面读取模式
    • 顺序读取模式
  • 32字节页面大小
  • 最大频率:
    • 16MHz (1.8VDD)
    • 20MHz (3VDD)
  • 8引脚SOIC封装

  • 应用:
    • 工业物联网
    • 高级辅助驾驶系统
    • 工业应用
    • 医疗
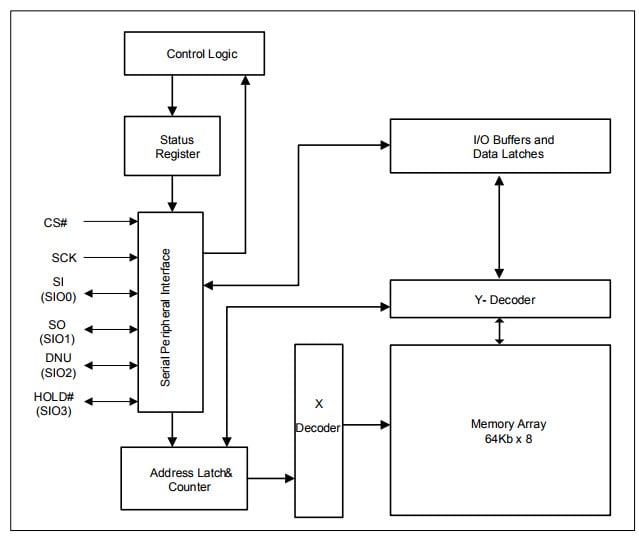
IS62WVS框图
ISSI IS62WVS框图
电子快讯
  • ISSI
发布日期: 2017-10-17 | 更新日期: 2024-03-05