MEMSIC MXC3500AL 3-Axis Accelerometer
MEMSIC MXC3500AL 3-Axis Accelerometer is an ultra-low-power, low-noise, integrated digital output three-axis accelerometer with features optimized for wearables and consumer product motion sensing. The low noise and power of the MXC3500AL are inherent in the monolithic fabrication process, where the MEMS accelerometer is integrated in a single chip with the electronics integrated circuit.The MXC3500AL's internal sample rate can be set from 0.5 to 4000 samples/second. The device offers motion events, including AnyMotion, tilt, flip, shake, single/double/triple tap, freefall, and six degrees of orientation. Furthermore, the device features activity/inactivity detection and XYZ magnitude. All motion events or sample acquisition conditions can trigger an interrupt to a remote MCU. Alternatively, the device supports sample and event status reading via polling.
Applications for the MEMSIC MXC3500AL include wearable consumer products, IoT devices, user interface control, gaming motion input, electronic compass tilt compensation for cell phones, game controllers, remote controls, and portable media products.
Features
- Range, sampling, and power
- ±2g, ±4g, ±8g, ±12g, ±16g or ±24g ranges
- 16-bit sample resolution in ±24g range
- 16-bit resolution with 1.5Kbyte FIFO
- Sample rate 0.5Hz to 4000Hz
- 250nA at 2Hz, lowest power sniff
- 300nA at 25Hz, low power sniff
- 1.1μA at 25Hz, ultra-low power (ULP) mode
- 3μA at 100Hz, low power (LP1) mode
- 5.8μA at 100Hz, low power/low noise (LP2) mode
- 28μA at 1000Hz, normal mode
- 40μA at 100Hz, low noise mode
- Simple system integration
- SPI up to 10MHz
- I2C interface, up to 1MHz
- Integrated temperature sensor
- 2mm x 2mm x 0.73mm 12-pin LGA package
- Low noise to 0.84mg RMS
- RoHS compliant
Applications
- Hearable, wearables, and IoT
- Smartphone
- Remote controls, VR, and game controllers
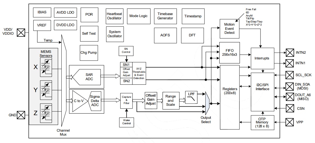
Block Diagram
Typical I2C Application Circuit
Typical 3-wire SPI Application Circuit
Typical 4-wire SPI Application Circuit
发布日期: 2025-08-12
| 更新日期: 2025-10-21
