Micro Crystal RV-3028-C8 Real-Time Clock (RTC) Modules
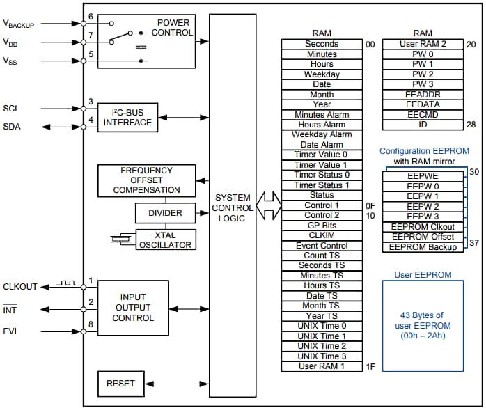
Micro Crystal RV-3028-C8 Real-Time Clock (RTC) Modules incorporate an integrated CMOS circuit with an XTAL and feature a dependable hermetically vacuum-sealed metal lid. These modules are factory calibrated to ±1ppm at +25°C for time accuracy, providing the year, month, date, weekday, hours, minutes, seconds, and UNIX. The devices include an I2C bus interface and the same function and pinout as the previous C7 version. Additional features include extremely low power consumption, a wide operating voltage range, and a timer, alarm, and external event input with a timestamp function. Micro Crystal RV-3028-C8 RTC Modules offer a clock output of 32.768kHz, 8192Hz, 1024Hz, 64Hz, 32Hz, and 1Hz in an ultra-small, low-profile package that weighs only 4.4mg. Applications include metering, industrial, automotive, healthcare, wearables, portables, and the Internet of Things (IoT).Features
- Ultra-small size, low profile, and lightweight (4.4mg)
- User-programmed password for write protection of time and configuration
- Timer, alarm, and external event input with timestamp function
- Automatic backup switchover and trickle charger function
- Provides year, month, date, weekday, hours, minutes, seconds, and UNIX
- Automotive qualification per AEC-Q200 available
- Same function and same pinout as C7 version
Applications
- IoT
- Metering
- Industrial
- Automotive
- Healthcare
- Wearables and portables
Specifications
- 70nA at 3V power consumption
- Wide 1.1V to 5.5V operating voltage range
- I2C bus interface, 400kHz
- Time accuracy with factory calibration to ±1ppm at +25°C
- 32.768kHz, 8192Hz, 1024Hz, 64Hz, 32Hz, and 1Hz clock output
- 43 bytes non-volatile user memory, 2 bytes user RAM
- 100% lead free and RoHS compliant
Additional Resources
Compact Package
Dimensional Drawing
Block Diagram
发布日期: 2025-03-25
| 更新日期: 2025-04-10
