Micro Crystal RV-3032-C7 Real-Time Clock Module with I2C Bus
Micro Crystal RV-3032-C7 Real-Time Clock Module with I2C Bus incorporates an integrated CMOS circuit together with a crystal (XTAL). The Micro Crystal RV-3032-C7 Real-Time Clock Module operates under a vacuum in a hermetically sealed ceramic package with a metal lid. The series features 160nA power consumption at 3V, a 1.3V to 5.5V operating voltage range, and operation from +85°C to +105° with ±20ppm time accuracy. Applications include the Internet of Things, metering, industrial, automotive, healthcare, and wearables/portables.Features
- 160nA power consumption at 3V
- 1.3V to 5.5V operating voltage range
- Operation
- -40°C to +85°C, ±2.5ppm time accuracy
- +85°C to +105°C, ±20ppm time accuracy
- Readable 12-bit temperature sensor with interrupt function
- User-programmable password for write protection
- Automatic backup switchover
- Trickle charger with charge pump
- Timer, alarm, and external event functions
- 1Hz to 52MHz clock output frequencies
- 32 bytes user EEPROM, 16 bytes user RAM
- 400kHz I2C-bus interface
- 100% lead-free, RoHS compliant
- AEC-Q200 automotive qualification available
Applications
- Internet of Things
- Metering
- Industrial
- Automotive
- Healthcare
- Wearables and portables
Videos
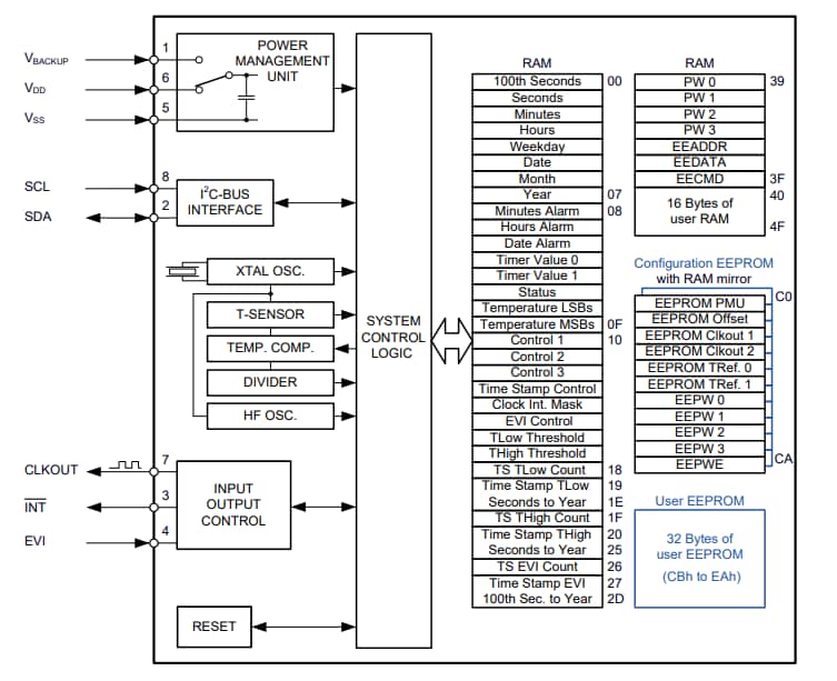
Block Diagram
发布日期: 2022-03-16
| 更新日期: 2024-02-27
