Microchip Technology BM63 蓝牙音频评估板
Microchip Technology BM63 评估板为设计人员提供一个评估平台,以评估完全经过认证符合 Bluetooth® 4.2 版规范的 BM63 立体声音频模块的特性与性能。 BM63 双模立体声音频模块可使设计人员能够向应用添加蓝牙无线音频和声音功能。 BM63 评估板的集成设计采用了一个编程接口,用于即插即用功能和快速原型设计。 其他功能包括内置 3W D 类立体声音频放大器、内置近场通信 (NFC)、立体声音频输出、输入/输出引脚以及数据与连接状态 LED。 该板还包括一个 MIC 和一个 AUX 输入插孔以及一个耳机输出插孔。 此外,还提供 CAD 输出连接器。 七个控制按钮可轻松实现音频控制。 设计人员可通过简单的 MCU 连接器或独立工作模式将板配置为由主机控制器控制。The BM63 Evaluation Board's integrated design features a programming interface for plug-and-play capability and rapid prototyping. Additional features include a built-in 3W Class-D stereo audio amplifier, built-in near field communication (NFC), stereo audio output, and data and connection status LEDs.
Designers can configure the board to be controlled by a host controller via a simple MCU connector or operate stand-alone mode.
特性
- Based on the fully-certified BLUETOOTH® 4.2 BM63 stereo audio module
- On-board MCU (PIC18F85J10) and DSP audio amplifier for easy operation and feature demonstration
- Powered by a PC host using the micro-USB cable or by connecting a Li-Ion battery
- Built-in 3W Class-D stereo audio amplifier
- Built-in Near Field Communication (NFC)
- Stereo audio output for high-quality audio
- Easy access to I/O pins
- Connection and data status LEDs
套件内容
- One BM-63-EVB, which contains the BM63SPKA1MGA-0001AC
- One micro-USB cable
- Two speaker cables
- One 5V DC power adapter
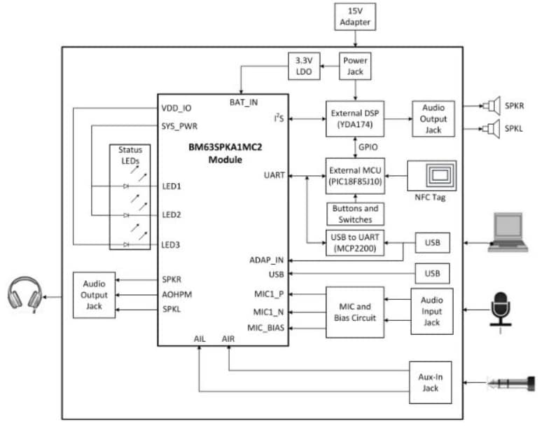
BM63 Evaluation Board Block Diagram
BM63 Evaluation Board Board Layout
On the Board Modules
1. BM63SPKA1MC2 module
2. Three status LEDs
3. NFC tag
4. Mode switch (SW9)
5. USB connector (P9)
6. USB to UART converter (MCP2200)
7. UART port over USB connector (P3)
8. Onboard MCU (PIC18F85J10)
9. ICSP header (J5)
10. Audio control buttons, Multi-Function Button (MFB), and pairing mode button
11. 15V adapter jack (P2)
12. Internal/external MCU selection switch (SW46)
13. Internal/external DSP audio amplifier selection switch (SW47)
14. On-board DSP (YDA174) with built-in audio amplifier
15. Audio connector (CN1 and CN2)
16. External MCU/DSP header (J6)
17. Auxiliary input 3.5mm jack (P8)
18. Microphone input 3.5mm jack (P6)
19. Speaker output 3.5mm jack (P7)
20. Reset button for the BM63 module (SW10)
21. Reset button for MCU (SW1)
