Microchip Technology BM70 Bluetooth® PICtail™/PICtail Plus板

Microchip Technology BM70 Bluetooth® PICtail™/PICtail Plus板设计用于评估和演示BM70 BLE模块的功能。该蓝牙板包括一个集成配置和编程接口,用于即插即用功能。BM70蓝牙板还提供集成式测试环境,用于BM70 BLE模块支持的所有功能。该蓝牙板包括BM70BLES1FC2模块和BM70BLES1FC2载板。

特性

  • Bluetooth® 4.2兼容BM70模块,具有板载天线和2dBm输出电源
  • 随时使用USB接口和基于Windows®的配置工具进行开发
  • USB指示、模块状态以及用户可配置LED
  • PICtail接口,用于连接常见的微控制器开发平台,例如Explorer16
  • 纽扣电池、USB或PICtail电源选项
  • 访问所有BM70模块引脚

套件内容

  • BM70 EVB,包含BM70BLES1FC2模块
  • micro-USB电缆

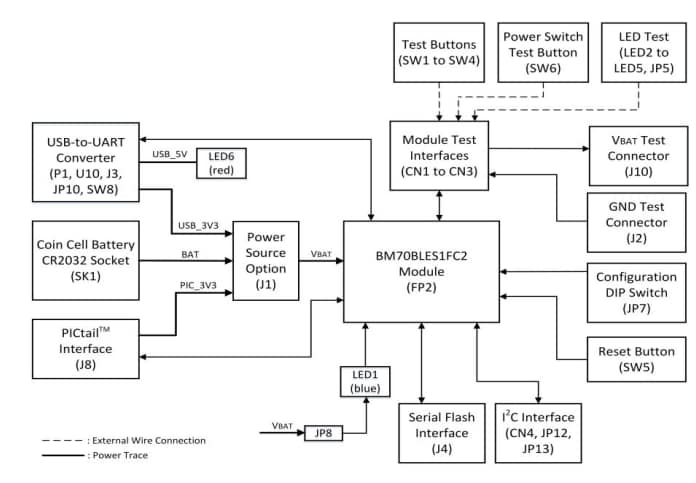
BM70 PICtail/PICtail Plus板框图

框图 - Microchip Technology BM70 Bluetooth® PICtail™/PICtail Plus板
发布日期: 2018-10-08 | 更新日期: 2022-12-01