集成数字信号处理器 (DSP) 解码AAC和SBC编解码器,并执行高级音频和语音处理。其中包括宽带 (WB) 语音、声学回声消除 (AEC) 和降噪 (NR)。借助基于Windows®操作系统的图形用户界面 (GUI) 配置工具,可以利用该平台灵活地定制外设设置和DSP功能。
专有的无线音乐会技术 (WCT) 支持将音频从同一音频源流传输到多个设备。该器件可立即使用预编程的固件开始播放音乐和接听电话。通过USB、UART和无线 (OTA) 固件升级来部署新功能,可以保持产品差异化。
特性
- 通过Bluetooth 5.0认证
- HFP 1.7、HSP 1.2、A2DP 1.3(接收端)、SPP 1.2、AVRCP 1.6、PBAP 1.2
- 支持蓝牙经典 (BR/EDR) 和低功耗蓝牙 (BLE)
- 通用属性配置文件 (GATT) 和通用访问配置文件 (GAP)
- 低功耗蓝牙数据长度扩展 (DLE) 和安全连接
- 支持AAC、SBC、LDAC解码(仅限IS2083BM-2L2)
- USB、UART和无线 (OTA) 固件更新
- -90dBm (2Mbps EDR) 接收灵敏度
- +9.5dBm (EDR) 发射输出功率
- I2S输入/输出、两个数字麦克风、两个麦克风、立体声模拟输出、辅助输入
- 内置闪存,用于固件更新
- 内置和自定义语音提示
- 使用GUI工具进行音频处理定制
- MCLK、I2C、两个LED、PWM、GPIO
- 16MHz主时钟输入
- 工作电压:3.2V至4.2V
- 工作温度范围:-40ºC至+85ºC
应用
- 便携式扬声器
- 多扬声器
- 耳机
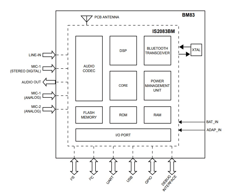
框图
发布日期: 2019-12-18
| 更新日期: 2023-06-13

