Microchip Technology DSA12x1/2/3/4高性能MEMS振荡器
Microchip Technology DSA12x1/2/3/4高性能MEMS振荡器是先进的定时解决方案,专为需要高可靠性和高精度的汽车应用而设计。这些Microchip振荡器利用微机电系统 (MEMS) 技术,在恶劣环境下提供卓越的性能,在温度、冲击和振动情况下提供出色的频率稳定性。 DSA12x1 系列提供CMOS输出,而DSA12x2/3/4系列支持LVPECL、LVDS、HCSL等差分设备,适合用于高速数据传输系统。这些振荡器符合AEC-Q100标准,具备低相位抖动和宽工作温度范围,非常适合用于高级驾驶辅助系统 (ADAS)、信息娱乐系统、汽车网络和其他关键任务汽车电子设备。紧凑型封装和可编程功能进一步提高了设计灵活性,并易于集成到现代汽车平台中。特性
- 通过AEC-Q100认证
- 频率范围
- DSA12x1的2.5MHz至170MHz
- DSA12x2/3/4的2.5MHz至450MHz
- 支持LVPECL、LVDS或HCSL差分输出(仅限DSA12x2/3/4)
- 极低的(<>
- 符合PCIe Gen1/2/3/4/5/6通用时钟规范(仅限DSA12x2/3/4)
- 高稳定性 (±20ppm, ±25ppm, ±50ppm)
- 宽温度范围
- -40°C至+125°C 汽车等级1
- -40°C至+105°C 汽车等级2
- -40°C至+85°C 汽车等级3
- 小型行业标准引脚布局(DSA12x2/3/4为CDFN/VDFN,DSA12x1为VDFN)
- 6引脚 2.5mm × 2.0mm
- 6引脚 3.2mm × 2.5mm
- 6引脚 3.2mm × 5.0mm
- 6引脚 7.0mm × 5.0mm
- 出色的抗冲击和振动能力,符合MIL-STD-883标准
- 高可靠性,平均无故障时间 (MTBF) 比石英振荡器高出20倍
- 电源电压范围为2.25V至3.63V
- 待机、频率选择和输出使能功能
- 无铅且符合RoHS规定
应用
- 汽车信息娱乐系统
- 汽车ADAS
- 车载网络、CAN总线、以太网
数据手册
- DSA12x1 车规级高性能CMOS MEMS振荡器
- DSA12x2/3/4 车规级高性能差分MEMS振荡器
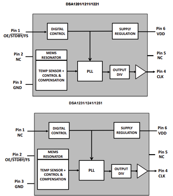
DSA12x1模块图
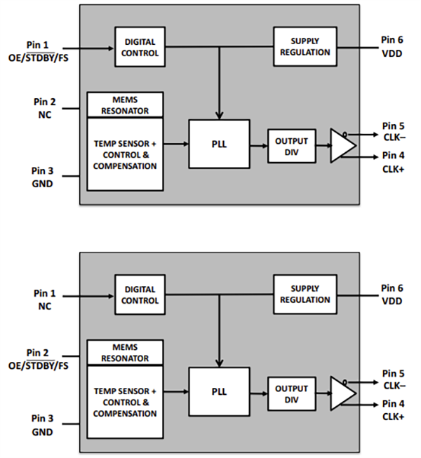
DSA12x2/3/4模块图
发布日期: 2025-08-05
| 更新日期: 2025-08-26
