特性
- 超低RMS相位抖动:<650fs(典型值)
- 高稳定性:±20ppm、±25ppm、±50ppm
- 宽工作温度范围
- 汽车温度范围:–40°C至+125°C(仅DSC12x3 LVDS)
- 扩展工业温度范围:-40°C至+105°C
- 工业温度范围:-40°C至+85°C
- 商用温度范围:-20°C至+70°C
- 支持LVPECL、LVDS或HCSL差分输出
- 符合PCIe Gen1-5标准的输出
- 宽频率范围:2.5MHz至450MHz
- 小尺寸的行业标准占位
- 2.5mm x 2.0mm
- 3.2mm x 2.5mm
- 5.0mm x 3.2mm
- 7.0mm x 5.0mm
- 出色的抗冲击和抗振动性
- 符合MIL-STD-883标准
- 可靠性高
- MTF比石英振荡器高20倍
- 电源电压范围:2.25V至3.63V
- 待机、频率选择和输出使能功能
- 无铅,符合RoHS指令
应用
- 存储区域网络
- 无源光网络
- 10/100G以太网
- HD/SD/SDI视频和监控
- PCI Express Gen 1/2/3/4
- 显示端口
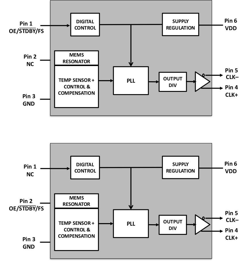
框图
发布日期: 2022-10-03
| 更新日期: 2022-10-04

