Microchip Technology dsPIC33CDVC256MP506集成电机驱动器
Microchip Technology dsPIC33CDVC256MP506集成电机驱动器将数字信号控制器 (DSC) 与设计用于3相BLDC电机控制的全桥MOSFET栅极驱动器以及用于汽车通信的CAN收发器相结合。100MHz dsPIC® DSC具有DSP、高级电机控制PWM、12位模数转换器以及集成运算放大器和比较器,设计用于运行磁场定向控制 (FOC),从而实现最大能效和最低系统成本。全桥栅极驱动器控制六个外部NMOS FET,包括一个用于低压运行的集成电荷泵、可编程死区时间和全面保护电路。该集成电机驱动器可由高达29V(工作)和40V(瞬态)的单电源供电,dsPIC DSC由内部3.3V LDO稳压器供电。汽车应用包括冷却风扇、气体、油泵和水泵、压缩机、阀门、执行器和涡轮增压器。 工业和商业应用包括电动工具和其他电池供电设备。特性
- 符合AEC-Q100 REV-H标准
- DSC运行
- 3.0 V至3.6 V、-40 °C至+125 °C、DC至100 MHz
- 3.0 V至3.6 V、-40 °C至+150 °C、DC至70 MHz
- 6.5V至29.0V、-40°C至+150°C MOSFET栅极驱动器运行
- CPU
- 改良式哈佛架构
- C编译器优化的指令集
- 16位宽数据路径/24位宽指令
- 16x16位整数乘法运算
- 快速6周期32/16和16/16整数除法运算
- 具有舍入和饱和选项的两个40位累加器
- 单周期乘法和累加:
- 单周期移位,用于高达40位数据
- 小数或整数乘法
- 电机控制PWM模块 (MCPWM)
- 4个PWM对,带独立定时(8个输出)
- PWM分辨率:2.0ns
- 灵活的触发器配置,用于ADC转换
- 独立死区时间,用于上升和下降沿
- 可编程故障输入
- 支持逆变器、PFC、照明、BLDC、PMSM、ACIM和SRM
- 32位光学/增量编码器接口、正交编码器接口 (QEI) 模块
- 12位分辨率模数转换器模块 (ADC)、3.5Msps转换速率、多达15个通道、1个S&H电路
- 模拟特性
- 3个运算放大器,输出可以内部连接到ADC模块
- 快速模拟比较器 (15ns)
- 12位PDM DAC,具有斜率补偿和缓冲输出
- 外设触发发生器 (PTG)、能够生成复杂的触发信号序列的排序器
- 多达12个定时器
- 专用16位定时器模块(定时器1)
- 4个捕获/比较/PWM/定时器模块 (SCCP),带2个16位或1个32位定时器
- PTG模块,带2个可配置16位定时器/计数器
- QEI模块可配置为32位定时器/计数器
- 串行通信接口
- 3个协议UART模块,支持LIN 2.2
- 3个SPI模块(高达50Mbps),具有16字节FIFO
- 3个I2C主机和客户端,具有地址屏蔽和IPMI支持
- 2个SENT模块,支持汽车传感器
- 具有用户可选择优先级仲裁的4通道DMA
- 外设引脚选择 (PPS) 支持功能重映射
- 32位可编程循环冗余校验 (CRC)
- 64引脚VGQFN封装
应用
- 汽车
- 冷却风扇
- 毒
- 油泵和水泵
- 压缩机
- 阀门
- 执行器
- 涡轮增压器
- 工商业
- 电动工具
- 其他电池供电设备
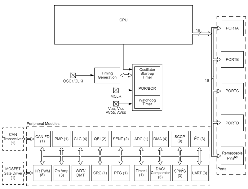
内部连接框图
框图
View Results ( 9 ) Page
| 物料编号 | 数据表 | 程序存储器大小 | 数据 RAM 大小 | 封装 / 箱体 |
|---|---|---|---|---|
| dsPIC33CDV128MP206-I/M9 | ![]() |
128 kB | 16 kB | VGQFN-64 |
| dsPIC33CDV256MP206-I/M9 | ![]() |
256 kB | 24 kB | VGQFN-64 |
| dsPIC33CDVC128MP506-E/M9 | ![]() |
128 kB | 16 kB | VQFN-64 |
| dsPIC33CDVC128MP506-I/M9 | ![]() |
128 kB | 16 kB | VQFN-64 |
| dsPIC33CDV256MP206T-I/M9 | ![]() |
256 kB | 24 kB | VGQFN-64 |
| dsPIC33CDV128MP206-E/M9 | ![]() |
128 kB | 16 kB | VGQFN-64 |
| dsPIC33CDV256MP206-E/M9 | ![]() |
256 kB | 24 kB | VGQFN-64 |
| dsPIC33CDVC128MP506T-E/M9 | ![]() |
128 kB | 16 kB | VQFN-64 |
| dsPIC33CDVC128MP506T-I/M9 | ![]() |
128 kB | 16 kB | VQFN-64 |
发布日期: 2024-05-06
| 更新日期: 2024-06-20

