Microchip Technology dsPIC33EP GS 数字信号控制器
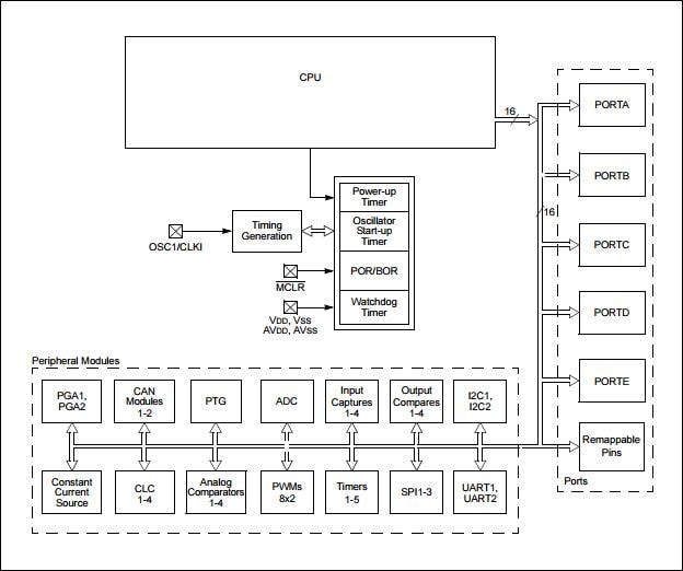
Microchip dsPIC33EP GS 数字信号控制器 (DSC) 具有一个 70-MIPS dsPIC® DSC 内核,含有集成的 DSP 和增强型片上外设。这些 DSC 旨在提供在更高开关频率下实现更复杂的非线性、预测和自适应控制算法所需的性能。这些先进算法实现更节能和具有更好电源规格的电源设计。更高的开关频率能够开发出密度更高、成本更低、物理尺寸更小的电源。 dsPIC33EP GS DSC 包含高级功能,如实时更新闪存功能,这些高级功能特别有助于保持高可用性或“始终接通”。实时更新可用于更改工作电源的固件,包括主动补偿器计算代码,同时保持连续调节。 dsPIC33EP GS 系列具有多达 5 个 12 位 ADC,输入多达 22 个 ADC。这些器件还包括用于全部 4 个模拟比较器的 12 位 DAC,用于更高精度的设计。两个片上可编程增益放大器可用于电流检测和其他精密测量。在该器件上包含这些先进模拟放大器可减少所需外部元件的数量,从而节省成本和电路板空间。The Microchip Technology dsPIC33EP GS DSCs include advanced features such as Live Update Flash capability, which is especially helpful for high-availability or "always-on" systems. Live Update can be used to change the firmware of an operating power supply, including the active compensator calculation code while maintaining continuous regulation.
The dsPIC33EP GS series features up to five 12-bit ADCs with as many as 22 ADC inputs. These devices also include 12-bit DACs for each of the four analog comparators, for higher-precision designs. Two on-chip programmable gain amplifiers can be used for current sensing and other precision measurements. Including these advanced analog amplifiers on the device reduces the number of external components required, thereby saving costs and board space.
特性
- 16-Bit dsPIC33E CPU Core
- Operating Conditions
- 3.0V to 3.6V, -40°C to +85°C, DC to 70 MIPS
- 3.0V to 3.6V, -40°C to +125°C, DC to 60 MIPS
- Clock Management
- ±0.9% Internal Oscillator
- Programmable PLLs and Oscillator Clock Sources
- Fail-Safe Clock Monitor (FSCM)
- Independent Watchdog Timer (WDT)
- Fast Wake-up and Start-up
- Power Management
- Low-Power Management modes (Sleep, Idle, Doze)
- Integrated Power-on Reset and Brown-out Reset
- 0.5mA/MHz Dynamic Current (typical)
- 20μA IPD Current (typical)
- High-Speed PWM
- Eight PWM Generators (two outputs per generator)
- Individual Time Base and Duty Cycle for each PWM
- Advanced Analog Features
- High-Speed ADC module
- 12-bit with 4 dedicated SAR ADC cores and one shared SAR ADC core
- Four Rail-to-Rail Comparators with Hysteresis
- Two Programmable Gain Amplifiers
- Interconnected SMPS Peripherals
- Five 16-bit and up to Two 32-bit Timers/Counters
- 2x UART modules
- 3x Variable Width SPI modules
- 2x I2C modules with SMBus Support
- Up to 2 CAN modules
- Up to 128Kb program memory
- Debugger Development Support
- AEC-Q100 REVG (Grade 1, -40°C to +125°C)
- Class B Safety Library, IEC 60730
- Multiple case options for design flexibility
- 28, 44, 48, 64, and 80 pin/lead
- SPOIC, QFN, QFN-S, UQFN, and TQFP packages
Block Diagram
