EMC18xx温度传感器具有电阻误差校正 (REC)、β补偿(支持需要BJT/晶体管模型的CPU二极管)和温度变化梯度测量等特性。除了监控多达五个温度通道外,EMC18xx还具有诸多特性,可为复杂的环境监测应用提供强大的解决方案。
特性
- 可测量温度变化梯度,包括抢先警报限值
- 多达4个外部温度监控器:
- 8引脚器件:±1°C最大精度(-20°C至+105°C TA,-40°C至+125°C TD)
- ±1.5°C最大精度(-40°C至+125°C TA,-40°C至+125°C TD)
- 10引脚器件:±1°C最大精度(-20°C至+125°C TA,-40°C至+125°C TD)
- ±1.5°C最大精度(-40°C至+125°C TA,-40°C至+125°C TD)
- 内置温度传感器:
- ±1°C最大精度,-40°C至+125°C
- 内置温度传感器:
- ±1°C最大精度,-40°C至+125°C
- 8引脚器件:±1°C最大精度(-20°C至+105°C TA,-40°C至+125°C TD)
- 温度传感器分辨率(内部/外部):0.125°C
- 电阻可编程系统关断温度
- 可配置的警报引脚
- 工作电压:1.62V至3.6V
- 温度范围:–40°C-+125°C
- 其他特性
- 自动β补偿
- 可配置的理想系数
- 热门二极管比较
- 电阻误差校正
- 采用8引脚2mm x 2mm WDFN和10引脚2.5mm x 2.0mm VDFN封装
应用
- 温度敏感存储
- 工业
- 用于低系统电压的物联网
- 便携式电子设备
- 手持游戏机
- 计算
- 食品贮藏
系统示意图
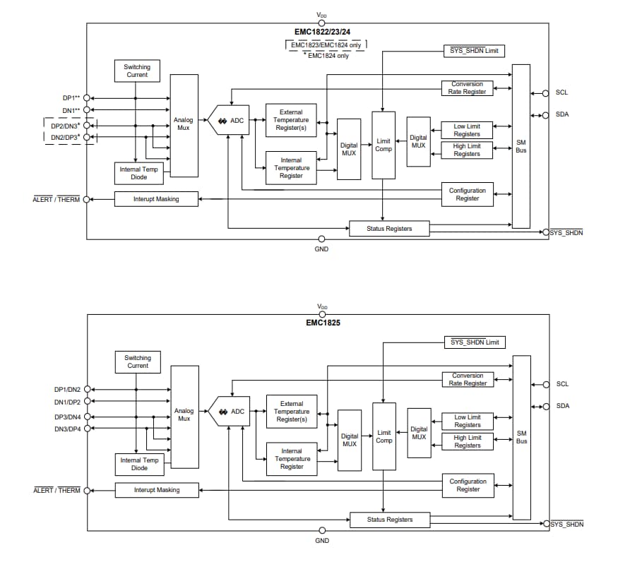
框图
发布日期: 2019-08-13
| 更新日期: 2023-06-05

