KSZ8041RNL收发器是KSZ8041NL的增强型RMII版本,无需50MHz系统时钟。这些收发器使用25MHz晶体作为其输入参考时钟,并向MAC输出50MHz RMII参考时钟。KSZ8041NL和KSZ8041RNL收发器采用32引脚无铅QFN封装。KSZ8041TL和KSZ8041FTL收发器采用48引脚无铅TQFP封装。KSZ8041MLL收发器采用48引脚无铅LQFP封装。典型应用包括打印机、游戏机、IPTV、IP电话、IP机顶盒与媒体转换器。
特性
- 单芯片10Base-T/100Base-TX物理层解决方案
- 完全符合IEEE 802.3u标准
- 低功耗
- 功耗低于180mW
- 掉电和省电模式
- 用于内核的内置1.8V稳压器
- 3.3V单电源
- 通过HP自动MDI/MDI-X可实现可靠的检测;设有禁用和启用选项,可校正直通电缆和交叉电缆
- 通过标准电缆稳健运行
- MII接口支持(仅限KSZ8041NL)
- RMII接口支持
- 外部50MHz系统时钟(KSZ8041NL或KSZ8041TL/FTL)
- 25MHz晶体/时钟输入,向MAC输出50MHz参考时钟 (KSZ8041RNL)
- SMII接口支持
- 外部125MHz系统时钟和来自MAC的12.5MHz同步时钟(仅限KSZ8041TL/FTL)
- 光纤支持100Base-FX(仅限KSZ8041FTL)
- MIIM (MDC/MDIO) 管理总线至6.25MHz,用于快速PHY寄存器配置
- 中断引脚选项
- 可编程LED输出,用于连接、活动和速度
- 6kV ESD额定值
- 多种封装
- 32引脚QFN (5mm x 5mm)
- 48引脚LQFP (KSZ8041MLL)
- 48引脚TQFP (KSZ8041TL/FTL)
应用
- 打印机
- 游戏机
- IPTV
- IP电话
- IP机顶盒
- 媒体转换器
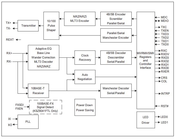
KSZ8041Tl/FTL以太网收发器框图
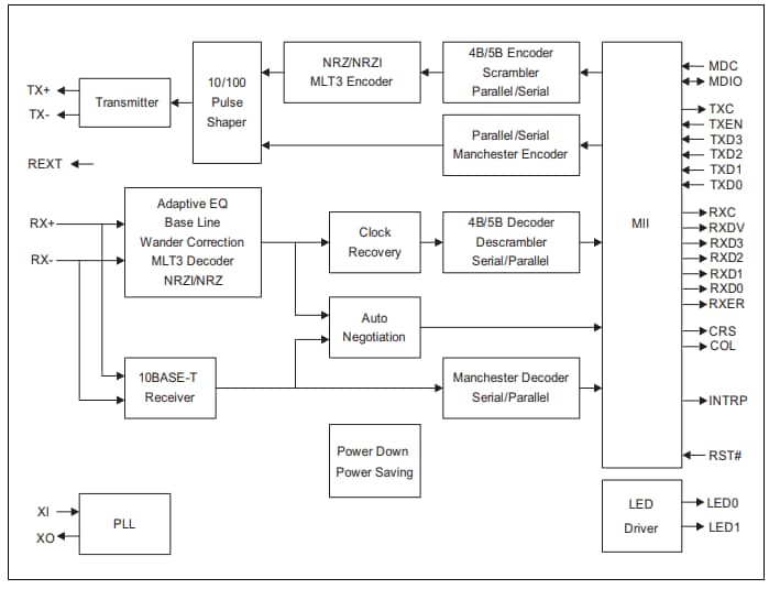
KSZ8041MLL以太网收发器框图
发布日期: 2018-06-11
| 更新日期: 2025-06-13

