特性
- 16位远程双向I/O端口:
- I/O引脚默认为输入
- 高速I2C接口 (MCP23017):
- 100kHz
- 400kHz
- 1.7MHz
- 高速SPI接口 (MCP23S17):
- 10MHz(最大值)
- 三个硬件地址引脚,总线上最多连接八个器件
- 可配置的中断输出引脚:
- 可配置为高电平有效、低电平有效或开漏
- INTA和INTB可配置为独立运行或共同运行
- 可配置的中断源:
- 由配置的寄存器默认值或引脚更改引起的电平变化中断
- 极性反转寄存器,用于配置输入端口数据的极性
- 外部重置输入
- 低待机电流:1µA(最大值)
- 工作电压:
- 1.8V至 5.5V(-40°C至85°C时)
- 2.7V至5.5V(-40°C至85°C时)
- 4.5V至5.5V(-40°C至125°C时)
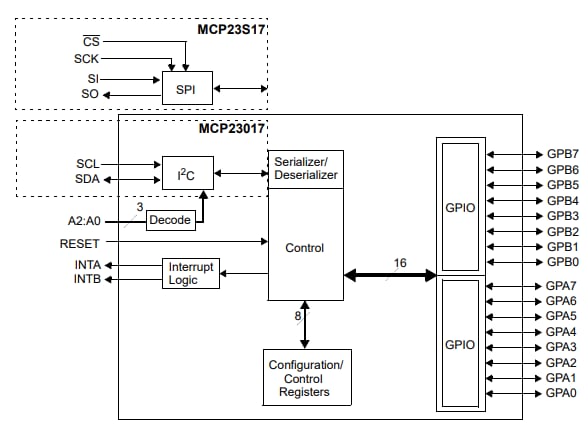
功能框图
发布日期: 2019-12-24
| 更新日期: 2023-06-12

