Microchip Technology PIC16(L)F18426/46低引脚数MCU
Microchip PIC16(L)F18426/46低引脚数MCU将超低功耗 (XLP) 技术与内核独立外设 (CIP)、智能模拟和通信外设相结合,可用于各种应用。这些MCU具有带计算功能的12位模数转换器 (ADC2)、设备信息区 (DIA)、内存访问分区 (MAP) 以及外设引脚选择 (PPS)。PIC16(L)F18426/46低引脚数MCU具有高达28kb的程序闪存、2kb数据SRAM存储器和256B数据EEPROM存储器。这些MCU具有各种数字外设,包括四个可配置逻辑单元 (CLC)、两个互补波形发生器 (CWG) 以及多达18个I/O引脚。模拟外设包括ADC、DAC、零交叉检测 (ZCD)、温度传感器电路以及固定电压参考 (FVR) 模块。PIC16(L)F18426/46低引脚数MCU采用节能工作模式,其中CPU和各外设以不同的周期速率运行。这些低引脚数MCU非常适合用于各种通用和低功耗应用。特性
- C编译器优化的RISC架构
- 运行速度:
- 针对直流的32MHz时钟输入
- 最小指令周期:125ns
- 中断功能
- 16级深度硬件堆栈
- 定时器:
- 多达两个24位定时器
- 多达四个8位定时器
- 多达四个16位定时器
- 窗口看门狗定时器 (WWDT):
- 可变预定标器选择
- 可变窗口尺寸选择
- 可在硬件或软件中配置
- 小电流上电复位 (POR)
- 可配置上电延时定时器 (PWRT)
- 欠压复位 (BOR)
- 低功耗BOR (LPBOR) 选项
- 存储器:
- 高达28kb的程序闪存
- 高达2kb的数据SRAM存储器
- 256字节的数据EEPROM
- 可编程代码保护
- 直接、间接和相对寻址模式
- 内存访问分区 (MAP):
- 写保护
- 可定制的分区
- 工作电压:
- 1.8V至3.6V (PIC16LF184XX)
- 2.3V至5.5V (PIC16F184XX)
- 工作温度范围:
- 工业温度范围:-40ºC至85ºC
- 扩展温度范围:-40ºC至125ºC
- 省电工作模式:
- 打盹模式 - CPU和外设以不同的周期速率运行
- 空闲模式 - 在外设运行时,CPU停止工作
- 睡眠模式 - 功耗最低
- 超低功耗模式 (XLP)
- 外设模块禁用 (PMD) - 能够选择性地禁用硬件模块,以最大限度地降低未使用的外设的运行功耗
- 超低功耗 (XLP) 特性:
- 睡眠模式 - 50nA(1.8V时)
- 看门狗定时器 - 500nA(1.8V时)
- 辅助振荡器 - 500nA(32kHz时)
- 工作电流:
- 8µA(32kHz、1.8V时)
- 32µA(1MHz、1.8V时)
- 数字外设:
- 可配置逻辑单元 (CLC):
- 4个CLC
- 集成组合和时序逻辑
- 互补波形发生器 (CWG):
- 2个CWG
- 上升和下降边缘死区控制
- 全桥、半桥和1通道驱动器
- 多个信号源
- 捕获/比较/PWM (CCP) 模块:
- 4个CCP
- 用于捕获/比较模式的16位分辨率
- 用于PWM模式的10位分辨率
- 脉宽调制器 (PWM):
- 2个10位PWM
- 数控振荡器 (NCO):
- 0Hz<fNCO
- fNCO/220分辨率
- 外设引脚选择 (PPS):
- 数字外设的I/O引脚重新映射
- 串行通信:
- EUSART:
- 1个EUSART
- 与RS-232、RS-485和LIN兼容
- 自动波特率检测和自动唤醒启动
- 主同步串行端口 (MSSP):
- 2个MSSP
- SPI
- 与I2C、SMBus和PMBus™兼容
- EUSART:
- 数据信号调制器 (DSM)
- 多达18个I/O引脚
- 定时器模块
- 可配置逻辑单元 (CLC):
- 模拟外设:
- 带计算功能的模数转换器 (ADC2)
- 零交叉检测 (ZCD)
- 温度传感器电路
- 比较器
- 数模转换器 (DAC)
- 固定电压基准 (FVR) 模块
- 灵活的振荡器结构
- 高精度内部振荡器
- 用于外部源的4x PLL
- 用于HFINTOSC的2x PLL
- 低功耗内部31kHz振荡器 (LFINTOSC)
- 外部32.768kHz晶体振荡器 (SOCS)
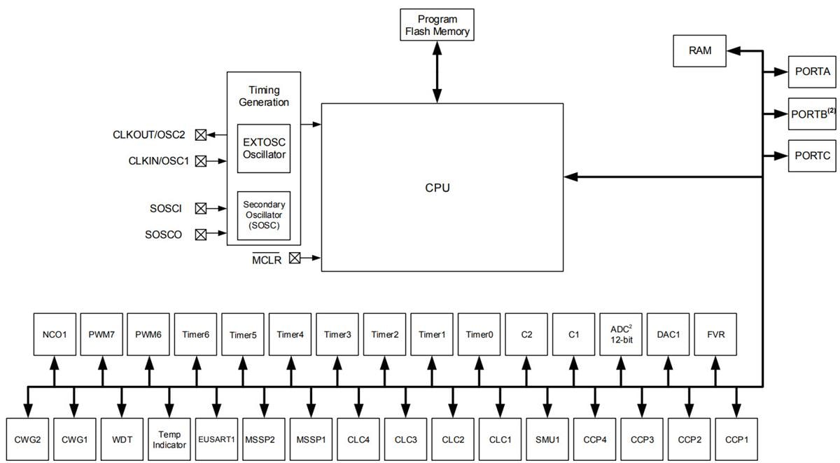
PIC16(L)F18426/46低引脚数MCU框图
发布日期: 2018-03-29
| 更新日期: 2022-10-03
