Microchip Technology PIC16F1459 8-bit USB MCUs
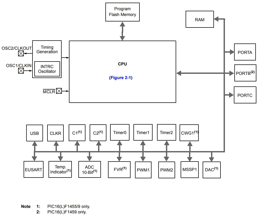
Microchip PIC16F1459 8-bit USB 2.0 Microcontrollers (MCUs) are 20-pin Flash devices delivering full-speed USB capability without the need of the usual external oscillator. These Microchip devices feature XLP extreme low power technology and a low sleep mode of 25nA at 1.8V. PIC16F1459 48MHz MCUs are part of the PIC16F145x series that comprises Microchip's lowest-cost and smallest-form-factor USB MCUs.Features
- Enhanced mid-range core with 49 instruction, 16 stack levels
- Flash program memory with self-read/write capability
- Internal 48MHz oscillator
- Universal Serial Bus 2.0 module with clock recovery from USB host
- 2x standalone PWM modules
- Complementary Waveform Generator (CWG) module
- Integrated Temperature Indicator module
- 10-channel 10-bit ADC with voltage reference
- 2 analog comparators
- 5-bit digital to analog converter (DAC)
- MI2C / SPI module
- Enhanced addressable USART module
- 25mA source/sink current I/O
- 2x 8-bit timers (TMR0/TMR2)
- 1x 16-bit timer (TMR1)
- Extended watchdog timer (WDT)
- Enhanced power-on/off-reset
- Low-power brown-out reset (LPBOR)
- Programmable brown-out reset (BOR)
- In-circuit serial programming (ICSP)
- Integrated in-circuit debug circuit
- PIC16F145x (1.8V - 5.5V)
Additional Resources
Block Diagram
发布日期: 2013-05-23
| 更新日期: 2022-03-11
