Microchip Technology PIC16F17154/55/74/75 微控制器

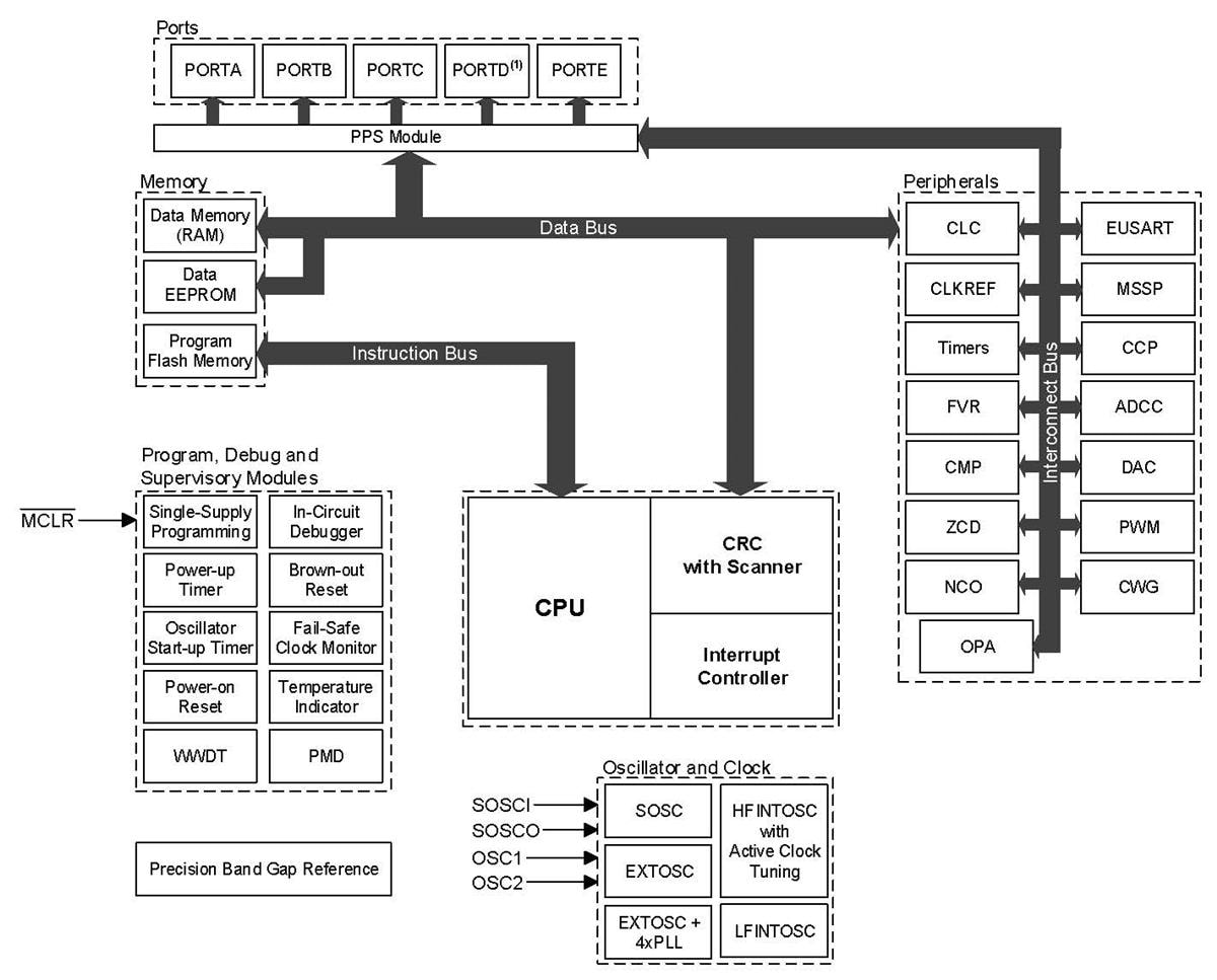
Microchip Technology  PIC16F17154/55/74/75微控制器具有用于精密传感器应用的模拟外设。Microchip Technology PIC16F17154/55/74/75微控制器采用8引脚至44引脚封装,内存大小范围为7KB至28KB,速度高达32MHz。该MCU包括一个低噪声运算放大器、一个带计算功能的12位差分ADC、两个8位DAC、一个16位PWM,以及其他波形控制和通信外设。这款紧凑、功能丰富的器件非常适合用于需要高分辨率的低成本、节能的模拟传感器应用。

特性

  • 针对C编译器优化的RISC架构
  • 时钟输入工作速度:直流至32MHz
  • 最小指令时间:125 ns
  • 16级深度硬件堆栈
  • 小电流上电复位 (POR)
  • 可配置上电延时定时器 (PWRT)
  • 掉电复位 (BOR)
  • 低功耗掉电重置 (LPBOR)
  • 窗口看门狗定时器 (WWDT)

应用

  • 精密传感器
  • 低成本模拟传感器
  • 节能型模拟传感器
  • 高分辨率传感器

框图

框图 - Microchip Technology PIC16F17154/55/74/75 微控制器
发布日期: 2024-10-14 | 更新日期: 2025-03-25