Microchip Technology PIC16F1845x 8位微控制器
Microchip PIC16F1845x 8位微控制器设计用于将智能模拟、内核独立外设 (CIP)、通信外设和超低功耗 (XLP) 技术相结合。这些微控制器具有带计算功能的12位模数转换器 (ADC²)、内存访问分区 (MAP)、设备信息区 (DIA) 以及外设引脚选择 (PPS),可提供灵活的解决方案。PIC16F1845x微控制器的工作温度范围是-40°C至85°C,工作电压范围为1.8V至3.6V (PIC16LF1845x) 或2.3V至5.5V (PIC16F1845x)。PIC16(L)F1845x 8位微控制器采用28引脚SPDIP、SSOP、SOIC和VQFN封装,可满足设计人员的各种要求。特性
- 内核:
- C编译器优化RISC架构
- 仅有50条指令
- 运行速度:
- 直流至32MHz时钟输入
- 最小指令周期:125ns
- 中断功能
- 16级深度硬件堆栈
- 定时器:
- 多达两个24位定时器
- 多达四个8位定时器
- 多达四个16位定时器
- 小电流上电复位 (POR)
- 可配置上电延时定时器 (PWRT)
- 欠压复位 (BOR)
- 低功耗BOR (LPBOR)选项
- 窗口看门狗计时器(WWDT):
- 可变预定标器选择
- 可变窗口尺寸选择
- 可在硬件(配置字)和/或软件中配置
- 可编程代码保护
- 存储器:
- 高达28KB的程序闪存
- 高达2KB的数据SRAM存储器
- 256B数据EEPROM
- 直接、间接和相对寻址模式
- 内存访问分区 (MAP):
- 写保护
- 可定制的分区
- 设备信息区 (DIA)
- 设备配置信息 (DCI)
- 超低功耗 (XLP) 技术:
- 休眠模式:50nA(1.8V时,典型值)
- 看门狗定时器:500nA(1.8V时,典型值)
- 辅助振荡器:500nA(32kHz时)
- 工作电流:
- 8µA(32kHz、1.8V时,典型值)
- 32µA/MHz(1.8V时,典型值)
规范
- 闪存类型程序存储器
- 28KB程序存储器大小
- CPU速度 (MIPS/DMIPS):8
- SRAM:2,048字节
- 数据EEPROM/HEF:256字节
- 数字通信外设:
- 2 x UART
- 2 x SPI
- 2 x I²C
- 捕获/比较/PWM外设:5
- 4 x 8位和4 x 16位定时器
- 24通道12位ADC输入
- 2个比较器
- 温度范围:-40°C至125°C
- 工作电压范围:
- PIC16LF18456为1.8V – 3.6V
- PIC16F18456为2.3V – 5.5V
- 引脚数:28
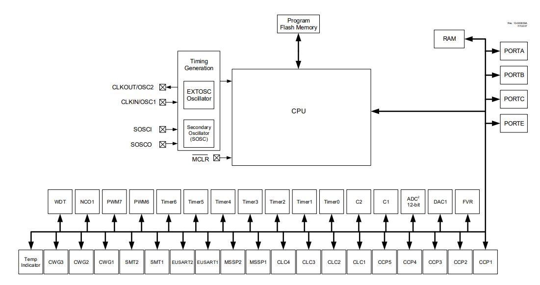
框图
发布日期: 2018-08-02
| 更新日期: 2022-11-15
