Microchip Technology PIC16(L)F1847闪存MCU
Microchip PIC16(L)F1847闪存MCU包含一个具有49条指令和16个堆栈级别的增强型中档8位CPU内核,并可进行在线调试。这些MCU设有高精度32MHz内部振荡器模块、ADC模块、模拟比较器和电压参考模块、可编程代码保护以及数据信号调制器模块。参考时钟模块可以将分频时钟发送到时钟输出引脚 (CLKR),并为调制器模块提供辅助内部时钟源。振荡器模块具有各种时钟源和选择特性,可用于各种应用,并最大限度地提高性能并降低功耗。 PIC16(L)F1847闪存MCU具有捕获/比较/PWM外设模块,可让用户对不同事件进行计时和控制并生成PWM信号。通过PICkit™ 3和MPLAB® ICD 3可进行调试和编程。特性
- 高性能RISC CPU:
- C编译器优化的架构
- 256字节的数据EEPROM
- 可寻址最大14kb的线性程序存储空间
- 可寻址最大1024字节的线性数据存储空间
- 带有自动现场保护的中断功能
- 直接、间接和相对寻址模式
- 灵活的振荡器结构:
- 高精度32MHz内部振荡器模块
- 31kHz低功耗内部振荡器
- 高达32MHz的四种晶体模式
- 双速振荡器启动
- 故障安全时钟监控器
- MCU特性:
- 工作电压:1.8V至5.5V (PIC16F1847)
- 工作电压:1.8V至3.6V (PIC16LF1847)
- 在软件控制下可自编程
- 通电复位 (POR)、上电延时定时器 (PWRT) 和振荡器起振定时器 (OST)
- 可编程欠压复位 (BOR)
- 扩展看门狗定时器 (WDT)
- 可编程代码保护
- 通过两个引脚进行在线串行编程(In-Circuit Serial Programming™,ICSP™)
- 通过两个引脚进行在线调试 (ICD)
- 增强型低电压编程
- 节能睡眠模式
- 采用XLP的超低功耗管理PIC16LF1847:
- 睡眠模式 - 20nA(1.8V时)
- 看门狗定时器 - 300nA(1.8V时)
- Time1振荡器 - 650nA(32kHz时)
- 工作电流:65μA(1MHz、1.8V时)
- 模数转换器 (ADC) 模块
- 模拟比较器模块
- 电压基准模块
- 15个I/O引脚和1个仅用作输入的引脚
- 四个8位定时器 (TMR0/TMR2/TMR4/TMR6)
- 一个16位定时器 (TMR1)
- 扩展看门狗定时器 (EWDT)
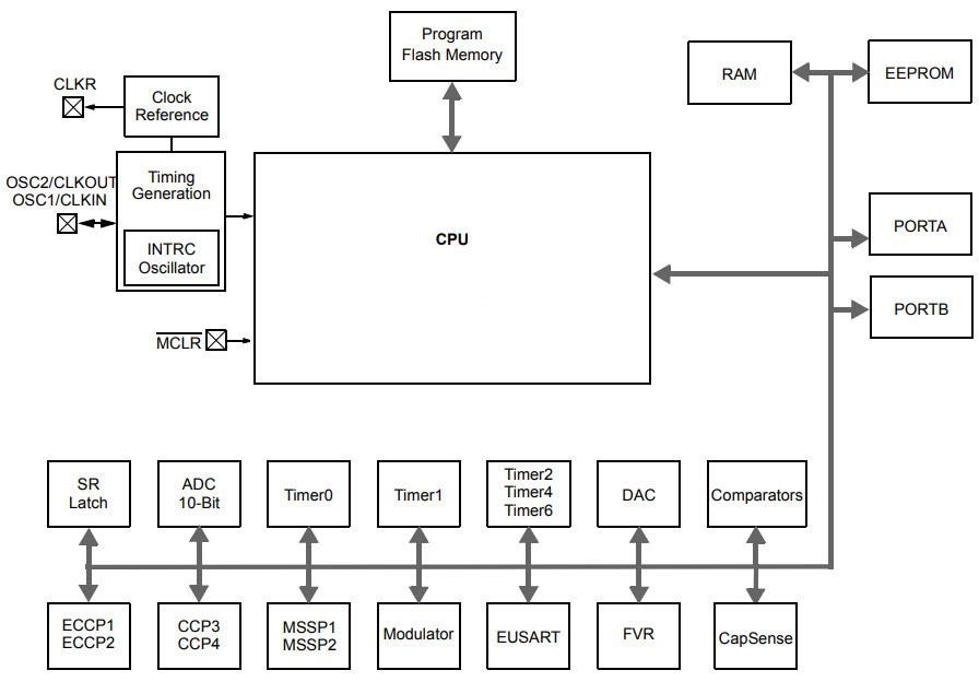
PIC16(L)F1847闪存MCU框图
发布日期: 2018-03-29
| 更新日期: 2022-10-03
