特性
- Dual Analog to 10-bit Digital Converter (ADC)
- 12 (PIC16LF1554) or 17 (PIC16LF1559) Channel 10-bit ADC
- Advanced Controls for mTouch CVD (Capacitive Voltage Divider)
- Voltage Reference
- MI2C, SPI, UART
- 2 PWMs (PIC16LF1554 only)
- 25mA Source/Sink current I/O
- 32MHz internal oscillator
- Low Power Brown Out Reset (LPBOR)
- Extended Watchdog Timer (WDT)
- In-Circuit Debug
- Operating Voltage 1.8V - 3.6V
应用
- mTouch solutions
- General purpose HMI applications
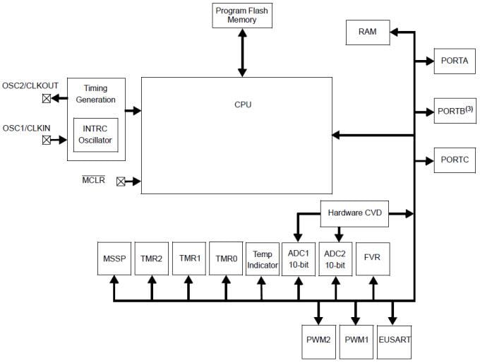
Block Diagram
发布日期: 2014-10-02
| 更新日期: 2022-03-11

