该款以模拟为中心的Microchip PIC18-Q71 MCU包含一个12位差分ADC(具有计算和情景切换功能)、两个运算放大器、一个10位数模转换器 (DAC) 和两个8位DAC模块(具有缓冲输出和与其他外设的内部连接)以及两个高级高速模拟比较器。此外,这些器件还设有模拟外设管理器,用于管理模拟外设,以优化功耗。
PIC18-Q71微控制器设有8位虚拟端口模块,无需利用外部引脚即可连接数字外设。
特性
- C编译器优化的RISC架构
- 128级深度硬件堆栈
- 四个直接内存访问 (DMA) 控制器:
- 数据从程序闪存、数据EEPROM或SFR/GPR空间传输到SFR/GPR空间
- 用户可编程的源和目标大小
- 硬件和软件触发的数据传输
- 向量中断功能:
- 可选择的高/低优先级
- 三个指令周期的固定中断延迟
- 可编程向量表基址
- 向后兼容以前的中断功能
- 运行速度:
- 直流至64MHz时钟输入
- 最小指令周期:62.5ns
- 小电流上电复位 (POR)
- 可配置上电延时定时器 (PWRT)
- 欠压复位 (BOR)
- 低功耗BOR (LPBOR) 选项
- 窗口看门狗定时器 (WWDT):
- 如果看门狗清除事件之间的时间间隔过长或过短,会进行看门狗重置
- 可变预定标器选择
- 可变窗口尺寸选择
应用
- 混合信号边缘节点和单芯片应用中的模拟和数字传感器
- 照明
- 电机控制
- 医疗
- 家居自动化
- 汽车
- 物联网 (IoT)
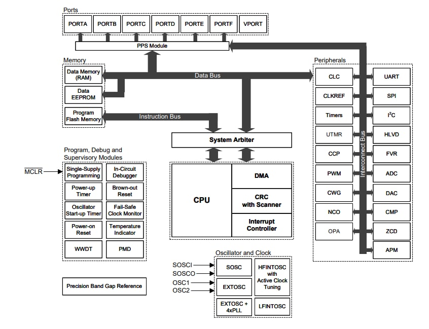
框图
视频
发布日期: 2023-03-01
| 更新日期: 2024-11-06

