这些套件与以太网PHY子板、LAN8720A PHY子板 (AC320004-3) 和LAN9303 PHY开关子板 (AC320004-4) 兼容。
特性
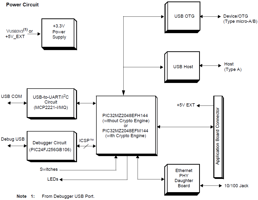
- 两个Mini B型USB端口,一个用于调试,另一个用于USB转UART或I2C通信
- 标准 A 型 USB端口,用于嵌入式主机
- 微型 AB 型 USB 主机/设备/OTG 端口
- PHY子板有一个用于网络连接的RJ-45以太网端口
套件内容
- 一个开发板
- 一个LAN8740A以太网PHY子板
- 两根USB mini-B转全尺寸A电缆(一根电缆用于调试并为开发板供电,另一根电缆用于USB转UART通信)
- 一根USB micro-B转全尺寸A电缆(用于与PIC32 USB端口通信)
- 一根RJ-45 CAT5以太网电缆(用于与PIC32以太网端口通信)
框图
发布日期: 2016-03-07
| 更新日期: 2022-03-11

