特性
- RNWF02PC低功耗2.4GHz IEEE® 802.11b/g/n兼容Wi-Fi模块
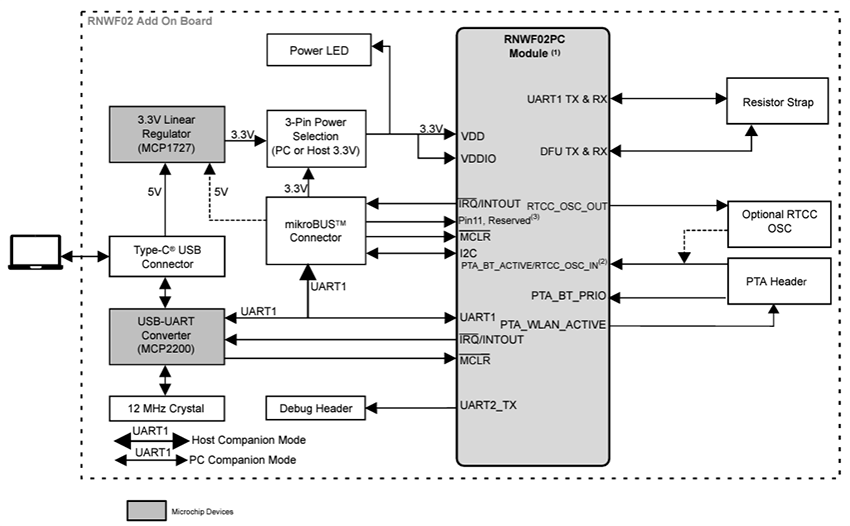
- 由3.3V电源供电:通过USB Type-C®(从主机PC获得的默认3.3V电源)或通过使用mikroBUS接口的主机板供电
- 在PC配套模式下,可通过板载USB转UART串行转换器实现轻松快速的评估
- 使用mikroBUS插座的主机配套模式
- 通过mikroBUS接口提供Microchip Trust&Go CryptoAuthentication™ IC,实现安全应用
- 用于电源状态指示的LED
- 硬件支持3线PTA接口,支持蓝牙® 共存
应用
- 智能工厂/控制设备
- 安防系统和闭路电视
- 智能家居/照明和智能锁
- 计算、Wi-Fi加密狗和协议桥接
- 物联网(IoT)传感器标签
- 远程控制
- 可穿戴智能设备
- 工业控制
概述
框图
电源框图
发布日期: 2024-11-08
| 更新日期: 2024-11-15

