Nexperia 74AVC1T1004转换1:4扇出缓冲器
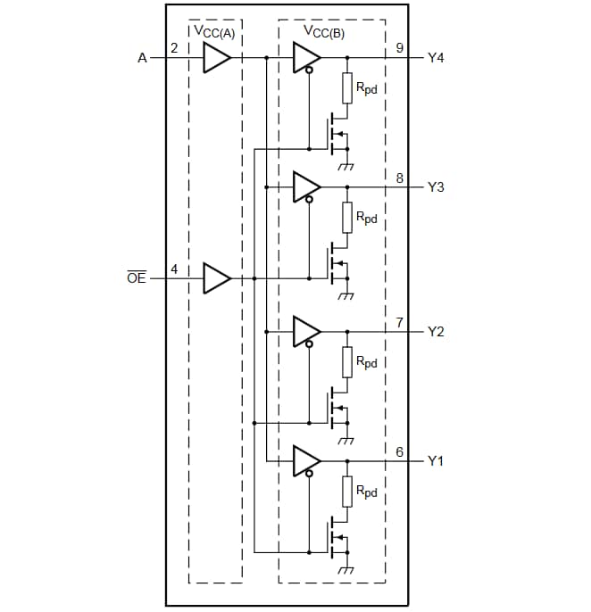
Nexperia 74AVC1T1004转换1:4扇出缓冲器非常适合用于时钟分配和其他便携式应用。该器件提供用于电压转换的VCC(A) 和VCC(B) 双电源,具有四个数据输出 (Yn)、一个数据输入 (A) 和一个输出使能输入 (OE)。双电源VCC(A) 和VCC(B) 可在0.8V至3.6V之间的任何电压下独立供电。VCC(A) 是A和OE的电平的参考,VCC(B) 是输出Yn的参考,此电源配置可确保扇出信号可用于电平转换。借助下拉电阻,可将OE上的高电平下拉为低电平,从而断开下拉电阻并启用所有输出。IOFF电路可在74AVC1T1004断电时禁用输出,防止出现任何破坏性倒流电流。特性
- 宽电源电压范围:
- VCC(A):0.8V至3.6V
- VCC(B):0.8V至3.6V
- 符合JEDEC标准:
- JESD8-12(0.8V至1.3V)
- JESD8-11(0.9V至1.65V)
- JESD8-7(1.2V至1.95V)
- JESD8-5(1.8V至2.7V)
- JESD8-B(2.7V至3.6V)
- ESD保护:
- HBM ANSI/ESDA/JEDEC JS-001 2类超过2kV
- CDM JESD22-C101超过1000V
- 最大数据传输速率:
- 380Mbit/s(≥1.8V至3.3V转换)
- 200Mbit/s(≥1.1V至3.3V转换)
- 200Mbit/s(≥1.1V至2.5V转换)
- 200Mbit/s(≥1.1V至1.8V转换)
- 150Mbit/s(≥1.1V至1.5V转换)
- 100Mbit/s(≥1.1V至1.2V转换)
- 闭锁性能超过100mA,符合JESD 78 II类标准
- 输入接受电压高达3.6V
- 工作温度范围:-40°C至+85°C及-40°C至+125°C
应用
- 便携式应用
- 机顶盒
- 工业
- 屏蔽型产品
- 计算/服务器
- 汽车
框图
发布日期: 2018-08-31
| 更新日期: 2023-03-15
