特性
- 宽电源电压范围:
- VCC:0.8V至3.6V
- 符合JEDEC标准:
- JESD8-12(0.8V至1.3V)
- JESD8-11(0.9V至1.65V)
- JESD8-7(1.2V至1.95V)
- JESD8-5(1.8V至2.7V)
- JESD8-B(2.7V至3.6V)
- ESD保护:
- HBM ANSI/ESDA/JEDEC JS-001 3B类超过8kV
- CDM JESD22-C101超过1000V
- 最大数据速率:
- 380Mbit/s (3.3V)
- 200Mbit/s (2.5V)
- 200Mbit/s (1.8V)
- 150Mbit/s (1.5V)
- 100Mbit/s (1.2V)
- 闭锁性能超过100mA,符合JESD 78 II类标准
- 输入接受电压高达3.6V
- 工作温度范围:-40°C到+85°C及-40°C到+125°C
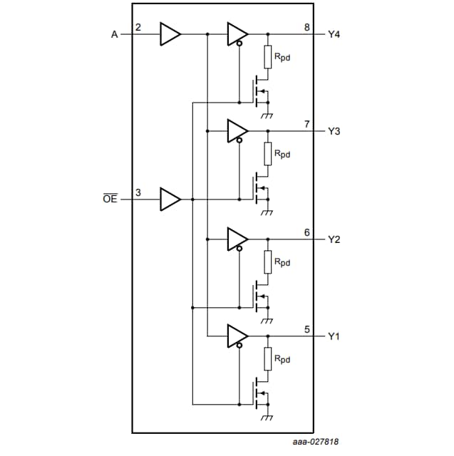
功能图
发布日期: 2018-09-05
| 更新日期: 2023-03-15

