Nexperia NCA9555PW 16位I2C和SMBus I/O扩展器
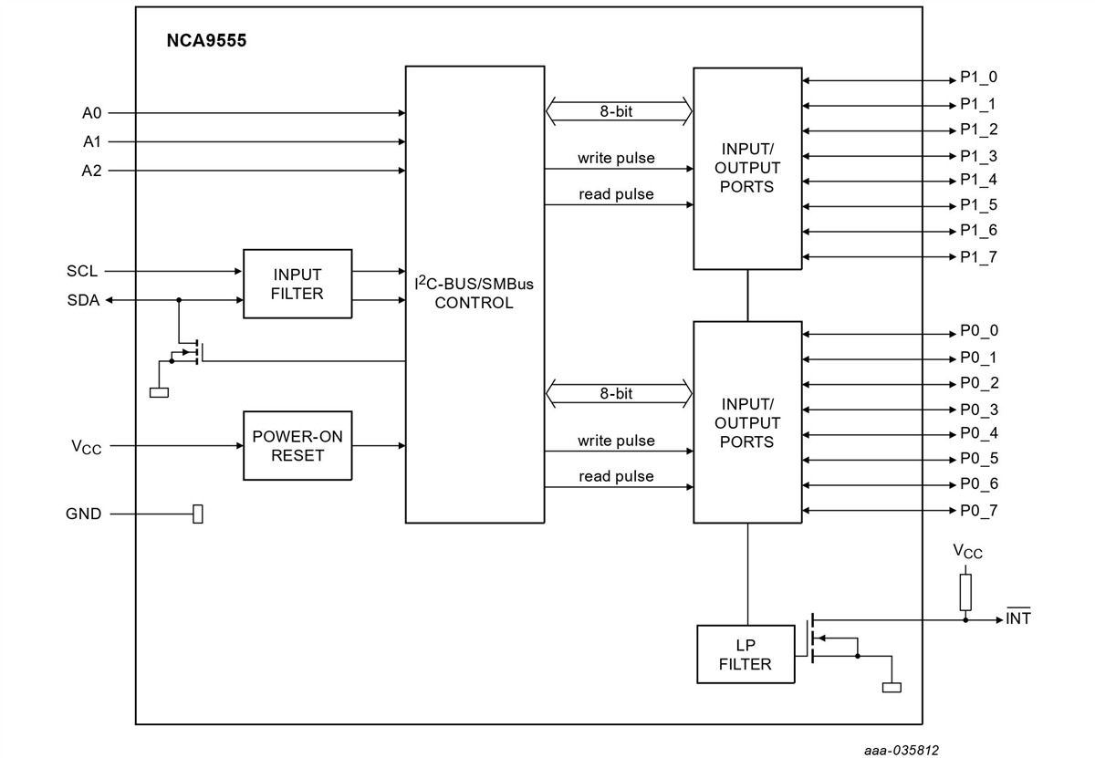
Nexperia NCA9555PW 16位I2C和SMBus I/O扩展器是扩展I2C总线/SMBus应用的通用输入/输出 (GPIO) 能力的有效解决方案。Nexperia NCA9555PW器件具有1.65V至5.5V的宽工作电压范围。NCA9555旨在满足各种器件的需求,包括中断和上拉电阻器。这些器件包括ACPI电源开关、传感器、按钮、LED和风扇控制系统。NCA9555具有8位输入、输出、配置和极性反转寄存器,所有输入输出在通电时默认为输入。器件的灵活配置选项允许将每个输入输出设置为输入或输出,使其成为在最小互连条件下添加额外输入输出的理想选择。特性
- I2C总线至并行端口扩展器
- 工作电源电压范围为1.65V至5.5V
- 待机电流消耗低
- 2.5µA(最大)
- 施密特触发器动作允许SCL和SDA输入端的输入转换速度较慢,并且具有更好的抗噪声性能
- Vhys = 0.10 × VCC(典型值)
- SCL和SDA输入端的噪声滤波器
- 5V耐受I/O接口
- 16个I/O引脚默认为16个输入端
- 开漏低电平有效中断输出 (INT)
- 400kHz快速模式I2C总线
- 内部上电重置
- 开机时,所有通道均配置为输入,并带有弱上拉电阻器
- 开机无故障
- 带25mA驱动力的锁存输出能力最大程度地直接驱动LED
- 锁存性能超过JESD78 II类的100mA
- ESD保护
- HBM ANSI/ESDA/JEDEC JS-001 2类超过2000V
- CDM ANSI/ESDA/JEDEC JS-002 C3类超过 1000V
- 额定工作温度范围为-40°C至+85°C
应用
- ACPI电源开关
- 传感器
- 按钮开关
- LED
- 风扇控制系统
框图
发布日期: 2023-02-07
| 更新日期: 2025-08-20
