Nuvoton NuMicro® M031/M032 Microcontrollers

Nuvoton NuMicro® M031/M032 Microcontrollers are based on the Arm® Cortex®-M0 core with a 32-bit hardware multiplier/divider. The MCUs offer a 1.8V to 3.6V voltage, 5V I/O tolerant, and operate up to 48MHz/72MHz within -40°C to 105°C.

The M031/M032 MCUs supply a solution for applications that require a 1.8V low-voltage interface connection, an improved fast 2MSPS conversion rate 12-bit ADC, comparators, and up to 24-channel 96MHz/144MHz PWM control. The devices support quick and precise data conversion for the voltage, current, and sensor data and fast response control to the external device. The M031/M032 also supplies many peripherals, including a Universal Serial Control Interface (USCI) that can be set as UART/SPI/I2C flexibly, up to 10 sets of UART, four sets of SPI, four sets of I2C, and 1-wire UART interface for data communication between master and slave devices.

The Nuvoton M032 series is based on the M031 series and enhanced with the crystallized USB 2.0 full-speed device feature for USB-related applications.

The M031/M032 series provides a Flash size of 16Kbytes to 512Kbytes and an SRAM size from 2Kbytes to 96Kbytes. Packages range from small form factor TSSOP 20-pin, TSSOP 28-pin, QFN 33-pin, LQFP 48-pin to LQFP 64-pin and LQFP 128-pin that are pin-compatible for different part numbers.

Key Features Support Table

Chart - Nuvoton NuMicro® M031/M032 Microcontrollers

Features

  • Arm Cortex-M0 processor, running up to 72MHz
    • 72MHz at 2.0V to 3.6V
    • 48MHz at 1.8V to 3.6V
  • Built-in Nested Vectored Interrupt Controller (NVIC)
  • 24-bit system tick timer
  • Programmable and maskable interrupt
  • Low power sleep mode by WFI and WFE instructions
  • Two-level BOD with brown-out interrupt and reset option (2.5V/2.0V)
  • Low Voltage Reset (LVR) with 1.7V threshold voltage level
  • Security
    • 96-bit Unique ID (UID)
    • 128-bit Unique Customer ID (UCID)
  • Signed (two’s complement) integer calculation
  • 32-bit dividend with 16-bit divisor calculation capacity
  • 32-bit quotient and 32-bit remainder outputs (16-bit remainder with sign extends to 32-bit)

Applications

  • Laser distance meter
  • Air detector/cleaner
  • Mobile LCD panel controller
  • IoT sensing device
  • HMI controller
  • Micro printer
  • Gaming keyboard and mouse
  • WPC wireless charger

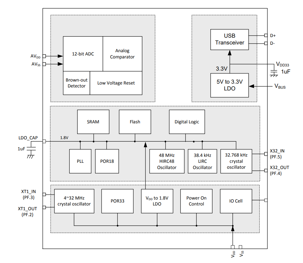
Functional Block Diagram

Block Diagram - Nuvoton NuMicro® M031/M032 Microcontrollers

M031 System Power Distribution Diagram

Application Circuit Diagram - Nuvoton NuMicro® M031/M032 Microcontrollers
发布日期: 2025-04-16 | 更新日期: 2025-05-06