NXP Semiconductors ASLx507直流-直流升压转换器
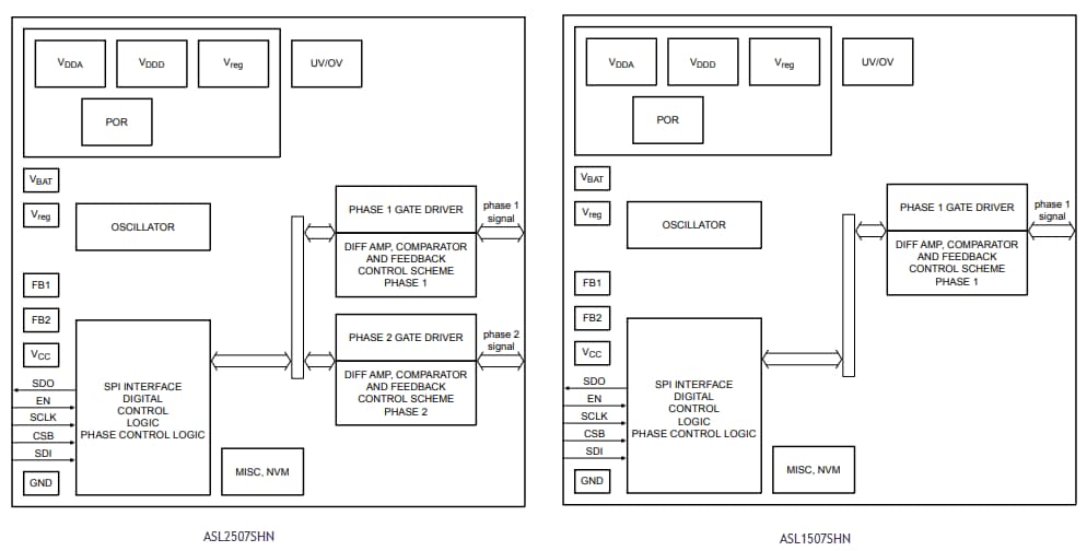
NXP Semiconductors ASLx507直流-直流升压转换器包括单相和双相IC,具有可编程limp-home模式特性。这些升压转换器IC设有一个或两个集成栅极驱动器,可驱动外部功率MOSFET和集成的比例积分 (PI) 控制器。ASLx507升压转换器设有SPI接口,可对外部微控制器进行全面控制并与其进行诊断通信。如果与微控制器的SPI通信失败,这些升压转换器支持在limp-home模式下进行可配置操作。ASLx507 IC的输出根据存储在非易失性存储器 (NVM) 中的预定义条件运行,该非易失性存储器可由客户在limp-home模式下进行编程。特性
- 符合AEC-Q100 1级标准
- Limp-home模式,确保系统安全
- 每个输出上单相或一个输出上双相
- 两个独立控制的输出电压,精度为3%
- 通过内置振荡器,在125kHz至700kHz范围内固定频率运行
- 可编程扩频功能
- 检测到输出过压时,栅极切换停止
- 可编程栅极电压
- 低电磁辐射 (EME) 和高电磁抗扰度 (EMI)
- 斜率补偿,跟踪频率和输出电压
- 可编程控制环路补偿
- 输出电压监控
- 电源电压测量
- 通过SPI读回编程的电压和频率范围
- 通过SPI监控结点温度
- HVQFN32封装外形
规范
- 宽工作输入电压范围:5.5V至40V
- 宽工作LED电压范围:2.5V至80V
- 静态电流:<5µA(25°C时)
- 环境工作温度范围:-40°C至125°C
应用
- 汽车LED照明:
- 日间行车灯
- 位置灯或停车灯
- 近光灯
- 远光灯
- 转向指示灯
- 雾灯
- 转弯灯
- 工业/消费类:
- 照明(室内)
- 控制面板
- 电池充电器
- 电动自行车
ASLx507框图
View Results ( 4 ) Page
| 物料编号 | 数据表 | 描述 | 通道数量 | 输入电压 | 工作频率 | 电源电流—最大值 | 封装 / 箱体 |
|---|---|---|---|---|---|---|---|
| ASL2507SHNY | ![]() |
LED照明驱动器IC Dual phase boost converter IC, Automotive grade, SPI, Limp Home mode | 2 Channel | 5.5 V to 40 V | 125 kHz to 700 kHz | 250 uA | HVQFN-32 |
| ASL1507SHNY | ![]() |
LED照明驱动器IC Single-phase boost converter IC , automotive grade, SPI, Limp Home mode | 1 Channel | 5.5 V to 40 V | 125 kHz to 700 kHz | 250 uA | HVQFN-32 |
| ASL2500SHNY | ![]() |
LED照明驱动器IC Two-Phase Automotive LED Boost Driver | 1 Channel | 5.5 V to 40 V | 20 mA | HVQFN-32 | |
| ASL1500SHNY | ![]() |
LED照明驱动器IC Single-Phase Automotive LED Boost Driver | 20 mA | HVQFN-32 |
发布日期: 2018-12-06
| 更新日期: 2022-10-12

