NXP Semiconductors PF1550 PMIC
NXP Semiconductors PF1550电源管理集成电路 (PMIC) 设计用于搭配低功耗便携式设备、智能可穿戴设备和物联网应用中的i.MX处理器使用。这些PMIC为i.MX 7ULP、i.MX 6SL、6UL、6ULL和6SX处理器提供了全功率解决方案。PF1550 PMIC集成了三个高效降压转换器、三个线性稳压器、RTC电源和电池线性充电器,可为整个电池供电系统供电。这些PMIC设有三个用户可编程LDO稳压器、I2C接口、DDR终端参考电压以及1A线性锂离子电池充电器。典型应用包括家居自动化、电子阅读器、智能手机、物联网、无线游戏控制器以及嵌入式监控系统。特性
- 输入电压范围至PMIC VBUSIN引脚,通过USB总线或交流适配器(4.1V至6V):
- 降压转换器:
- 内部数字软启动
- 在轻负载、ULP模式下具有1μA静态电流
- 峰值效率> 90%
- SW1和SW2上的动态电压调节
- 模式:
- 强制PWM准固定频率模式
- 自适应变频模式
- 可编程输出电压、电流限制和软启动
- LDO稳压器:
- 在低功耗模式下,静态电流< 1.5uA
- 可编程输出电压
- 软启动和斜坡
- 电流限制保护
- 电池充电器:
- 支持单节锂离子/锂聚合物电池
- 线性充电
- 集成50m电池隔离MOSFET
- 电池补充模式
- 高达3A电池放电过流保护
- 可编程LED驱动器
- 符合JEITA标准的电池温度检测和充电器控制
- LDO/开关电源:
- RTC电源VSNVS 3V,2mA
- 纽扣电池充电器
- DDR存储器参考电压,VREFDDR,0.5V至0.9V,10mA
- 用于器件配置的一次性可编程 (OTP) 存储器:
- 用户可编程启动序列、定时、软启动和断电序列
- 可编程稳压器输出电压和充电器参数
- I2C接口
- 用户可编程待机、休眠/低功耗和关闭 (REGS_DISABLE) 模式
- 环境温度范围:-40°C至105°C
应用
- 智能手机/可穿戴设备
- 低功耗物联网
- 无线游戏控制器
- 家居自动化
- 嵌入式监控系统
- POS机
- 电子阅读器
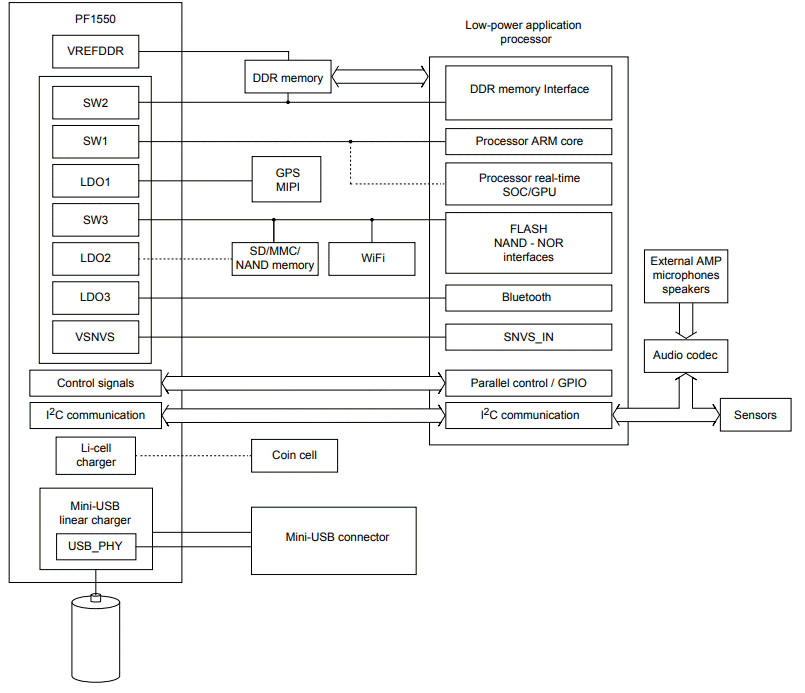
PF1550 PMIC功能框图
PF1550 PMIC内部框图
PF1550 PMIC应用电路
发布日期: 2018-08-07
| 更新日期: 2024-11-12
