PCA2131具有备用电池输入引脚和备用电池切换电路,用于监控主电源。当检测到电源故障情况时,电路会自动切换到备用电池,即使主电源中断,也能保持精确计时。电池低电平检测电路监控电池状态。当电池电压降至特定阈值以下时,会出现提醒必须尽快更换电池的标记。这样可确保电池备份期间数据的完整性。其他特性包括可编程看门狗功能、四个时间戳功能等。
特性
- 符合 AEC-Q100
- 工作温度范围:-40 °C至+105 °C
- 温度补偿晶体振荡器(TCXO),带微调集成电容器
- 时钟工作频率高达+125°C
- 超低电源电流:106nA(VDD = 3.3V时的典型值)
- 温度补偿RTC典型精度
- ±3 ppm,测量范围 -40 °C 至 +85 °C
- ±8 ppm,测量范围 +85 °C 至 +105 °C
- 在同一封装中集成了32.768kHz石英晶体和振荡器
- 提供年、月、日、周、时、分、秒和1/100秒
- 提供闰年修正
- 时间戳功能
- 具有中断功能
- 检测四个输入引脚上的四个不同事件(例如,用于篡改检测)
- 两线双向400kHz快速模式I2C总线接口
- 四线SPI总线,具有单独的数据输入和输出(最大速度6.5Mbit/s)
- 电池备用输入引脚和切换电路
- 电池支持的输出电压
- 电池电量低检测功能
- 上电复位 (POR)
- 上电复位超越 (PORO) 功能
- 软件重置功能
- 两个中断输出(开-漏)
- 可编程1秒或1分钟中断
- 带中断功能的可编程看门狗定时器
- 具有中断功能的可编程警报功能
- 可编程方波输出
- 时钟工作电压:1.2 V至5.5 V
- HLSON16 封装
- 4.5mm x 3.5mm x 1.45mm主体,0.5mm脚距
- 0.125凹口可湿性侧翼
- 散热增强型薄型小外形,无引线
应用
- 供电、供水和供气的电子计量
- 精密计时
- 访问一天的准确时间
- GPS设备,缩短首次修复时间
- 需要精确工艺时序的应用
- 具有较长自动无人值守运行时间的产品
- 汽车
- 汽车高性能计算
- 联网无线电
- 数字集群
- 智能汽车门禁
- V2X 通信
视频
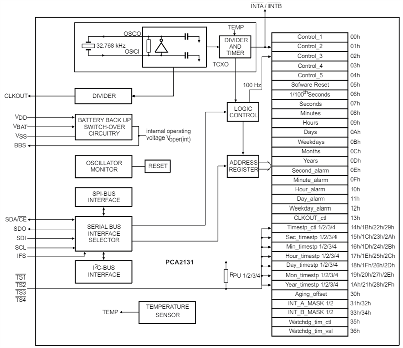
框图
发布日期: 2024-05-22
| 更新日期: 2024-09-09
