NXP Semiconductors PCA9629 Fm+ I2C 总线步进电机控制器
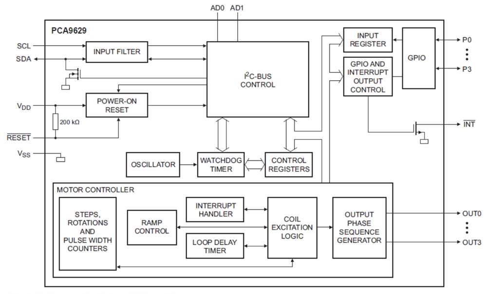
恩智浦 PCA9629 Fm+ I2C 总线步进电机控制器2C 总线控制低功耗 CMOS 设备,具备驱动四相步进电机所需全部逻辑和控制。PCA9629 配合外部高电流驱动器使用以驱动电机线圈。支持三种步进电机驱动:单相(波驱动)、两相和半步进。此外,当用作输入时,四个通用输入/输出(GPIO)可以感应来自光中断器模块的逻辑电平输出并在 PCA9629 的 INT 引脚上生成低电平有效的中断信号。在感应电机轴原始位置或步进参考脉冲时,此功能很有用。一旦中断,可对 PCA9629 进行编程以自动停止电机或反转电机的旋转方向。Output wave train is programmable using control registers. The control registers are programmed via the I²C-bus. Features built into the PCA9629A provide highly flexible control of stepper motor, off-load bus master/micro and significantly reduce I²C-bus traffic. These include control of step size, number of steps per single command, number of actions from 1 to 255 or continuous rotations and direction of rotation. Re-start motor for new speed and operation without waiting for motor stop. A ramp-up on start and/or ramp-down on stop is also provided with re-enable ramp-up or ramp-down to change the ramp rate curve on the fly.
The PCA9629A is available in a 16-pin TSSOP package and is specified over the ‑40°C to +85°C industrial temperature range.
特性
- Generate motor coil drive phase sequence signals with four outputs for use with external high current drivers to off-load CPU
- Four balanced push-pull type outputs capable of sinking 25mA or sourcing 25mA for glueless connection to external high current drivers needed to drive unipolar stepper motor coils
- Up to 1000pF loads with 100 ns rise and fall times
- Built-in 1MHz oscillator requires no external components
- Stepper motor drive control logic
- One-phase (wave drive), two-phase, and half-step drive format logic level outputs
- Programmable step rate: 333.3kpps to 0.3pps with ±3% accuracy
- Programmable ramp-up on start and ramp-down to stop
- Programmable re-enable ramp-up or ramp-down to change ramp rate curve on the fly
- Programmable re-start motor with new speed and operation while motor is still running
- Programmable motor action either multiple times (1 to 255) or continuously
- Programmable loop delay timer for motor reversal mode
- Programmable steps with clockwise and/or counter-clockwise control
- Direction control of motor shaft
- Interrupt features
- Active LOW open-drain interrupt output
- Programmable watchdog timer with option to generate interrupt, reset device or stop motor
- Programmable motor stop interrupt
- Sensor enabled drive control: linked to interrupt from GPIO pins
- Programmable interrupt Mask Control for input sources
- Four stepper motor drive outputs (OUT0 to OUT3)
- Configured to drive stepper motor outputs and capable to read back the last output states when motor is stopped
- Both output phase and state can be changed at any time
- Programmable time-out timer to set all outputs to zeros when motor is stopped
- Configured as general purpose outputs to drive (source/sink) loads up to 25mA
- Four general purpose I/Os (P0 to P3)
- Configured to sense logic level outputs from optical interrupter photo transistor circuit
- Programmable filter timer to suppress spike or noise for P0 and P1 inputs
- Configured as outputs to drive (source/sink) LEDs or other loads up to 25mA
- Selectable active hold (last state), power on, power off or released states for motor shaft
- 32-bit step counter to count output steps
- 4.5V to 5.5V operation
- 1MHz Fast-mode Plus (Fm+) compatible I2C-bus serial interface with 30mA high drive capability on SDA output for driving high capacitive buses
- Active LOW reset (RESET) input pin resets device to power-up default state: can be used to recover from bus stuck condition
- All Call address allows programming of more than one device at the same time with the same parameters
- 16 programmable slave addresses using two address pins
- ‑40°C to +85°C operation
- ESD protection exceeds 2000V HBM per JESD22-A114 and 1000V CDM per JESD22C101
- Latch-up testing is done to JEDEC Standard JESD78 which exceeds 100mA
- TSSOP16 package
应用
- Amusement machines
- Gaming and slot machines
- Consumer home appliances or toys
- Industrial automation
- HVAC and building climate control systems
- Robotics
Block Diagram
