NXP Semiconductors PTN3460I DisplayPort 至 LVDS 桥接器
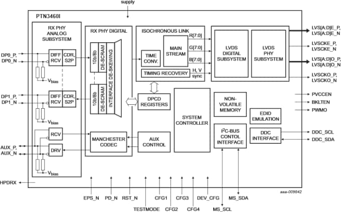
恩智浦 PTN3460I DisplayPort 到 LVDS 电桥将嵌入式 DisplayPort(eDP)源和 LVDS 显示板相连接。它对输入的 DisplayPort(DP)流进行处理,实现从 DP 到 LVDS 的协议转换,然后以 LVDS 格式输出经过处理的 DP 流。恩智浦 PTN3460I 具备两个高速端口:面向 DP 源的接收端(如 CPU/GPU/芯片组)和面向 LVDS 接收器的输出端(如 LVDS 显示板控制器)。PTN3460I 能够以 1.62 Gbit/s 或 2.7 Gbit/s 的链路速率接收 DP 数据流,并可支持单通道或双通道 DP 运行模式。它通过 DP 辅助(AUX)通道与 DP 源互动,实现 DP 的链路调训和设置。它支持单总线或双总线 LVDS 信号采样,色深为每像素 18 位或 24 位,像素时钟频率高达 112 MHz。LVDS 数据包可采用 VESA 或 JEIDA 格式。此外,DP 辅助接口可传送辅助通道 I²C 命令,并支持与 LVDS 面板 的EDID-DDC 通信。为支持无 EDID ROM 的面板,PTN3460I 可以模拟 EDID ROM 特性,避免系统视频 BIOS 中的某些变化。The NXP PTN3460I has two high-speed ports: Receive port facing DP Source (for example, CPU/GPU/chipset) and a Transmit port facing the LVDS receiver (for example, LVDS display panel controller). The PTN3460I can receive DP stream at link rate 1.62Gbit/s or 2.7Gbit/s, and it can support 1-lane or 2-lane DP operation. It interacts with DP source via DP Auxiliary (AUX) channel transactions for DP link training and setup. It supports single bus or dual bus LVDS signaling with color depths of 18-bits per pixel or 24-bits per pixel and pixel clock frequency up to 112MHz.
The LVDS data packing can be done either in VESA or JEIDA format. Also, the DP AUX interface transports I2C-over-AUX commands and supports EDID-DDC communication with the LVDS panel. To support panels without EDID ROM, the PTN3460I can emulate EDID ROM behavior avoiding specific changes in system video BIOS.
特性
- Embedded microcontroller and on-chip Non-Volatile Memory (NVM) allow for flexibility in firmware updates
- LVDS panel power-up (/down) sequencing control
- Firmware controlled panel power-up (/down) sequence timing parameters
- No external timing reference needed
- EDID ROM emulation to support panels with no EDID ROM
- Emulation ON/OFF is set via configuration pin CFG4
- Supports EDID structure v1.3
- On-chip EDID emulation up to seven different EDID data structures
- eDP complying PWM signal generation or PWM signal pass-through from eDP source
应用
- Industrial PC design
- Printer display
- Automotive dashboard display
- All in one platforms
- Notebook platforms
- Netbooks/net tops
Block Diagram
