NXP Semiconductors TJA1022双路LIN收发器
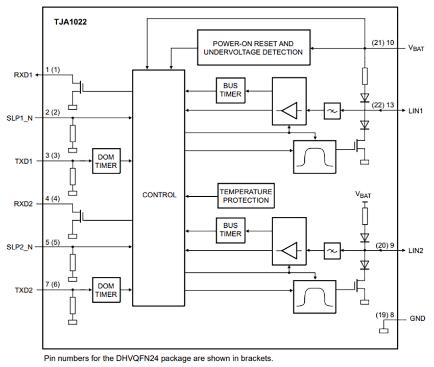
NXP Semiconductors TJA1022双LIN收发器提供本地互连网络 (LIN) 主/从协议控制器和LIN网络中的物理总线之间的接口。TJA1022收发器主要用于使用波特率高达20kBd的车载子网络,并符合LIN 2.0、LIN 2.1、LIN 2.2、LIN 2.2 A 、ISO 17987-4:2016(12V LIN)和 SAE J2602标准。TJA1022T和TJA1022TK(SO14/HVSON14封装)与TJA1020、TJA1021、TJA1027和TJA1029引脚兼容。TJA1022HG(DHVQFN24封装)与TJA1024引脚兼容。TJA1022、 TJA1024、 TJA1027和TJA1029均软件兼容。NXP TJA1022将协议控制器传输的数据转换为优化的LIN总线信号,旨在减少电磁辐射 (EME)。LIN输出引脚使用端接电阻器在内部拉至高电平。对于主节点配置,应在VBAT引脚和每个LIN引脚之间连接一个外部电阻器和二极管。接收器检测LIN总线上的传入数据,并通过RXD1和RXD2引脚转发到微控制器。当收发器处于睡眠模式时,功耗非常低。然而,TJA1022仍然可以通过引脚LIN1/LIN2和SLP1_N/SLP2_N唤醒。
特性
- 单封装中包含2个LIN收发器
- LIN 2.0、LIN 2.1、LIN 2.2、LIN 2.2A、ISO 17987-4:2016 (12V LIN) 和SAE J2602兼容
- 波特率高达20kBd
- 超低电磁辐射 (EME)
- 睡眠模式下低电流消耗并具有远程LIN唤醒功能
- 输入电平与3.3V和5V设备兼容
- 集成端接电阻器,适用于LIN从设备应用
- 非供电状态下的无源行为
- 在启动脉冲期间运行 - 从5V以上开始全速运行
- 欠压检测
- 兼容K线
- 14引脚型号与以下型号引脚兼容: TJA1020 、 TJA1021 、 TJA1027 和 TJA1029
- 24引脚型号是 TJA1024 的一个引脚兼容子集
- 与TJA1024、TJA1027和TJA1029软件兼容
- 保护
- 极高的电磁干扰 (EMI) 免疫能力
- 根据IEC 61000-4-2标准,LIN1、LIN2和VBAT引脚的ESD耐受性极高- ±8kV
- 总线终端和电池引脚在汽车环境中受到瞬态保护 (ISO 7637)
- 总线终端短路时能保护电池和接地端
- 热保护
- 切换到正常模式时的初始TXD主导检查
- TXD主导超时功能
- 封装选项
- SO14塑料封装,3.9mm外壳宽度
- 塑料、不含铅HVSON14(3.0mm x 4.5mm x 0.85mm),具有改进的自动光学检测 (AOI) 能力
- 塑料、双列直插、不含铅DHVQFN24(3.5mm x 5.5mm x 0.85mm),具有改进的AOI能力
- 无卤素及符合 符合 RoHS 标准
应用
- 车身电子设备
- 车窗升降器
- 车门模块
- 座椅控制器
- 天窗系统
- 室内照明控制
- 气候控制系统
- HVAC(供暖、通风和空调)模块
- 风扇和百叶窗控制单元
- 信息娱乐和舒适性
- 方向盘控制
- 后视镜调整系统
- 环境照明
- 传感器和致动器接口
- 雨量/光线传感器
- 温度传感器
- 电机驱动器
规范
- 电池电源电压范围
- -0.3V至+42V限值
- 工作温度范围:5 V至18 V
- 电池供电电流范围
- 待机和睡眠模式下为2.5µA至10µA
- 正常模式下为300µA至3200µA
- LIN引脚上的电压为±42V
- 20kΩ至60 kΩ从属电阻范围
- LIN引脚上的最大电容为20pF
- 结至环境热阻
- SO14封装为145K/W
- HVSON14封装为50K/W
- DHVQFN24封装,功率密度为42.7K/W
- 虚拟结温范围:-40°C至+150°C
- 关断结温范围:+150°C至+200°C
方框图
应用电路图
发布日期: 2025-09-09
| 更新日期: 2025-09-17
