NXP Semiconductors 支持TJA1104 MACsec的100BASE-T1以太网PHY
NXP Semiconductors TJA1104 MACsec支持100BASE-T1以太网PHY收发器可解决未来网络的安全问题,并提供带MACsec基于硬件的高效解决方案。NXP TJA1104是符合ASIL B标准的器件。TJA1104符合所有先进的符合性测试规范,按照ISO 26262标准设计,以满足ASIL B的要求,提供增强的监控和诊断功能。这款符合AEC-Q100标准的器件通过以太网数据线集成符合OPEN Alliance TC-10标准的唤醒转发。TJA1104直接兼容TJA1103和TJA1120,可实现可扩展的平台设计。特性
- IEEE 802.1AE-2018 MACsec(全线性能)
- 符合ISO 26262 ASIL B功能安全标准
- 符合IEEE 802.3bw标准的100BASE-T1 PHY
- OPEN Alliance TC-1高级PHY特性
- 时间戳记符合IEEE1588v2/802.1AS标准
- 符合OPEN Alliance TC-10标准的睡眠/唤醒
- 单电源供电能力
- HVQFN36 (6mm x 6mm)封装,带可湿性侧翼
- 优化用于汽车应用
- 包括启动自检
- 符合AEC-Q100 1级标准
- 3.3V单电源供电能力
应用
- 雷达系统
- 音响系统
- 视觉系统和摄像头
- 汽车无线电
- 电动驾驶舱和音响主机
- 远程调谐器
- TCU
- 网关和域控制器
视频
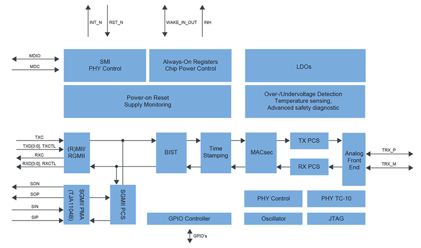
框图
发布日期: 2024-11-19
| 更新日期: 2025-10-15
