onsemi NCx57252栅极驱动器
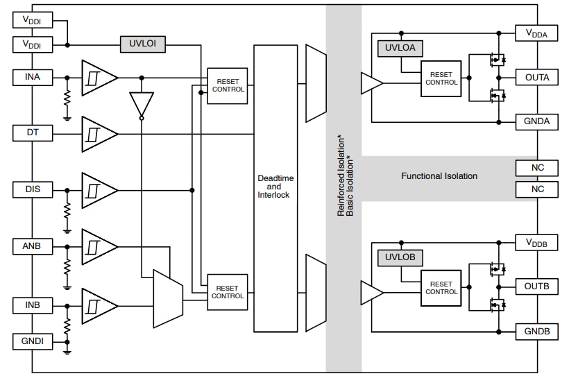
安森美 (onsemi) NCx57252栅极驱动器是大电流双通道隔离式IGBT/MOSFET栅极驱动器,从输入到每个输出均具有2.5kVrms 或5kVrms 内部电流隔离。这些驱动器在输入侧接受3.3V至20V偏置电压和信号电平,在输出侧接受高达32V偏置电压。NCD(V)57252栅极驱动器具有一致的性能,可配置为双通道低侧或双通道高侧或高桥驱动器。这些栅极驱动器接受互补输入,并设有单独的引脚,用于禁用和死区时间控制,便于系统设计。NCx57252驱动器支持快速开关操作,采用宽体SOIC-16和窄体SOIC-16封装。这些驱动器非常适合用于汽车、工业、电动汽车 (EV) 充电器、电机控制、不间断电源 (UPS) 和太阳能逆变器。特性
- 高峰值输出电流(±6.5A、±3.5A)
- 可配置为双低侧或双高侧或半桥驱动器
- 可编程重叠或停滞时间控制
- 禁用引脚,关闭输出,实现电源排序
- ANB功能,可灵活地将驱动器设置为采用单输入信号工作的半桥驱动器
- 短路期间的IGBT/MOSFET栅极钳位
- 传播延迟时间短,具有精确匹配
- 所有电源上均具有精密的UVLO阈值
- 3.3 V、5 V和15 V逻辑输入
- 从输入到每个输出的电流隔离为2.5kVrms 或5kVrms,输出通道之间的差分电压为1.5kVrms
- 1200 V工作电压(符合VDE0884-11要求)
- 高共模瞬态抑制
- NCV前缀,适用于需要独特现场和控制变更要求的汽车及其他应用
- 符合AEC-Q100标准并具有PPAP功能
- 无铅、无卤/无BFR,符合RoHS指令
应用
- 汽车
- 工业
- 电动汽车 (EV) 充电器
- 不间断电源 (UPS)
- 工业电源
- 电机控制
- 太阳能逆变器
框图
发布日期: 2021-05-27
| 更新日期: 2024-03-15
