onsemi NCP161高PSRR LDO稳压器

安森美半导体NCP161高PSRR LDO稳压器是线性稳压器,能够提供450mA输出电流。NCP161 设计用于满足射频和模拟电路的要求。这些器件具有低噪声、高PSRR、低静态电流和良好的负载/线路瞬态等特性。该器件设计用于与1µF输入和1µF输出陶瓷电容器配合使用。NCP161有两种厚度可供选择:超小型0.35P、0.65mm x 0.65mm芯片级封装 (CSP) 和XDFN-4 0.65P、1mm x 1mm。

特性

  • 工作输入电压范围:1.9V至5.5V
  • 提供固定电压选项:1.8V - 5.14V
  • 在整个负载/温度范围内的精度为±2%
  • 超低静态电流 18µA(典型值)
  • 待机电流:0.1µA(典型值)
  • 超低压差:150mV(450mA 时)
  • 超高PSRR:98dB(20mA,f = 1kHz时典型值)
  • 超低噪声:10μVRMS
  • 可通过小型1µF陶瓷电容器稳定工作
  • 提供 WLCSP4 0.65x0.65x0.4mm CASE 567KA,WLCSP4 0.65x0.65x0.33mm CASE 567JZ,XDFN4 1x1x0.4mm
  • 这些器件无铅、无卤/无BFR,符合RoHS指令

应用

  • 电池供电设备
  • 无线LAN设备
  • 智能手机、平板电脑
  • 照相机、DVR、STB 和摄录一体机

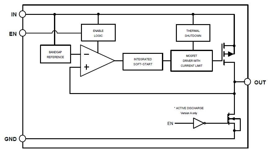
框图

框图 - onsemi NCP161高PSRR LDO稳压器
发布日期: 2017-01-11 | 更新日期: 2026-03-20