特性
- 工作输入电压范围:1.1V至5.5V
- 0.6V至4V固定电压选项
- 在整个负载/温度范围内的精度为±2%
- 可通过小型1µF陶瓷电容器稳定工作
- 采用以下封装:
- WLCSP4 0.65mm x 0.65mm x 0.33mm封装567VS
- XDFN4 1mm x 1mm x 0.4mm封装711AJ
- 这些器件无铅、无卤/无BFR,符合RoHS指令
规范
- 超低静态电流:20A(典型值)
- 待机电流:0.1A(典型值)
- 极低压差:70mV(1.05V,100mA)
- 高PSRR:95dB(典型值)(20mA,f=1kHz)
- 超低噪声:8.8µVRMS
应用
- 电池供电设备
- 智能手机和平板电脑
- 数码相机
- 烟雾报警器
- 便携式医疗设备
- RF、PLL、VCO和时钟电源
- 电池供电无线物联网模块
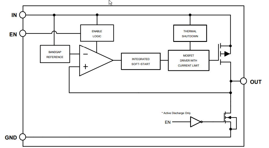
NCP110稳压器框图
NCP110典型应用图
发布日期: 2018-07-10
| 更新日期: 2022-10-31

